US12442621 - Firearm sight mounting plate assembly

firearmsightmountingaccessory
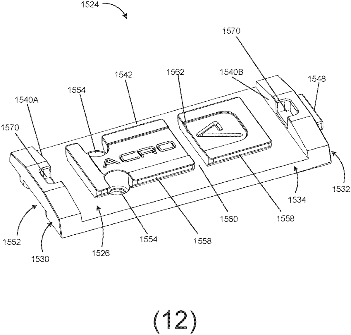
The patent describes a firearm sight mounting plate assembly designed to securely attach to the slide of a firearm, featuring a recess with a rib, slot, and ejector projection for enhanced stability. The mounting plate includes symmetrically aligned slots for accommodating an optic, ensuring precise alignment and functionality.
Claim 1
- A mounting plate configured to attach to a slide of a firearm, the mounting plate comprising: a top surface, an opposed bottom surface, a front side configured to face toward a front end of the firearm, and a rear side configured to face toward a rear end of the firearm; a first plate wall adjacent to the front side of the mounting plate; a second plate wall adjacent to the rear side of the mounting plate; and a first slot defined in the first plate wall and a second slot defined in the second plate wall and configured to receive corresponding structure of an optic, wherein the first slot and the second slot are symmetrically aligned with one another along a longitudinal axis of the mounting plate. a top surface, an opposed bottom surface, a front side configured to face toward a front end of the firearm, and a rear side configured to face toward a rear end of the firearm; a first plate wall adjacent to the front side of the mounting plate; a second plate wall adjacent to the rear side of the mounting plate; and a first slot defined in the first plate wall and a second slot defined in the second plate wall and configured to receive corresponding structure of an optic, wherein the first slot and the second slot are symmetrically aligned with one another along a longitudinal axis of the mounting plate.
Google Patents
https://patents.google.com/patent/US12442621
USPTO PDF
https://image-ppubs.uspto.gov/dirsearch-public/print/downloadPdf/12442621