US12442944 - Deployment of quasi-planar shock wave generators in association with seismic exploration

The patent describes a geophysical exploration system that utilizes explosive devices designed to generate quasi-planar shock waves for seismic operations, supported by unmanned vehicles for deployment and control. This system enhances the efficiency and precision of explosive device placement and initiation in the field.
Claim 1
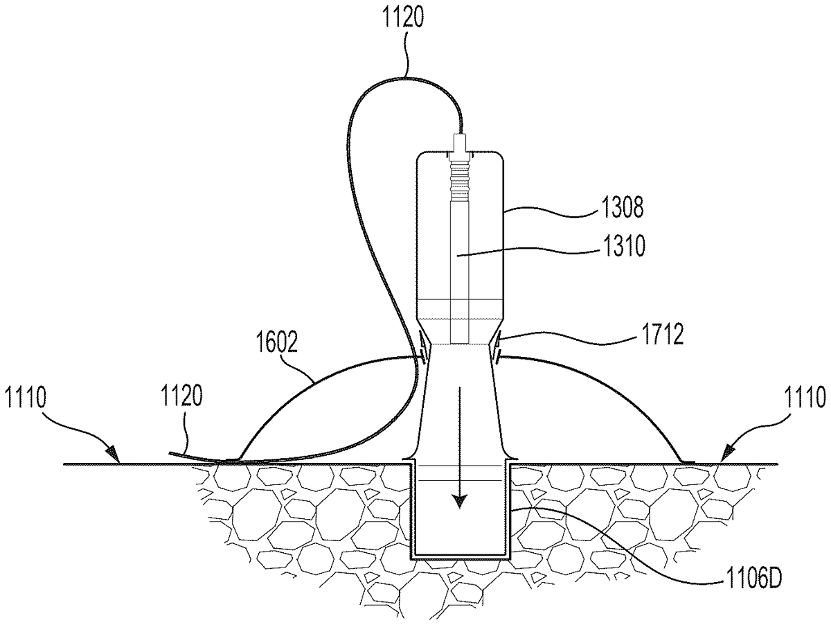
- A geophysical or seismic exploration system, comprising: a set of explosive device magazines configured for carrying a plurality of explosive device components, wherein the explosive device components are configurable to form individual explosive devices, and wherein each explosive device carries a set of explosive compositions and is configured for collimating an explosive shock wave produced thereby into a quasi-planar shock wave output from a distal end of the explosive device to produce a geophysical or seismic exploration wave; a set of unmanned explosive device deployment support vehicles, wherein each unmanned explosive device deployment support vehicle comprises an aerial or land-based unmanned vehicle configured for carrying and delivering at least one of the set of explosive device magazines to a first in-field location at which each explosive device is deployable for carrying out a geophysical or seismic exploration operation; and a set of unmanned blast support vehicles, wherein each unmanned blast support vehicle is configured for selectively programming and controlling the explosive initiation of explosive devices deployed at the first in-field location by way of wireless communication with the explosive devices. a set of explosive device magazines configured for carrying a plurality of explosive device components, wherein the explosive device components are configurable to form individual explosive devices, and wherein each explosive device carries a set of explosive compositions and is configured for collimating an explosive shock wave produced thereby into a quasi-planar shock wave output from a distal end of the explosive device to produce a geophysical or seismic exploration wave; a set of unmanned explosive device deployment support vehicles, wherein each unmanned explosive device deployment support vehicle comprises an aerial or land-based unmanned vehicle configured for carrying and delivering at least one of the set of explosive device magazines to a first in-field location at which each explosive device is deployable for carrying out a geophysical or seismic exploration operation; and a set of unmanned blast support vehicles, wherein each unmanned blast support vehicle is configured for selectively programming and controlling the explosive initiation of explosive devices deployed at the first in-field location by way of wireless communication with the explosive devices.
Google Patents
https://patents.google.com/patent/US12442944
USPTO PDF
https://image-ppubs.uspto.gov/dirsearch-public/print/downloadPdf/12442944