US12449219 - Firearm suppressor and self-torquing feature

firearmsuppressorammunition
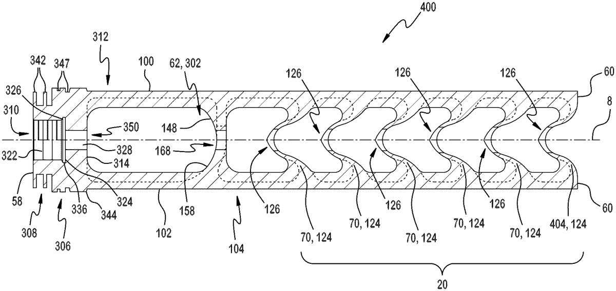
The patent describes a firearm suppressor featuring a core and a tube, with the core including a first end cap that accommodates a firearm barrel and an array of baffles to reduce noise. The design incorporates a static vane and a bore aligned with the suppressor’s longitudinal axis, enhancing its efficiency in sound suppression.
Claim 1
- A suppressor for a firearm comprising: a core having a first longitudinal axis, the core comprising a first proximal end, a first distal end spaced from the first proximal end along the first longitudinal axis, and a first end cap disposed adjacent to the first proximal end, the first end cap comprises a proximal end wall, an opening for receiving a barrel of a firearm, the opening extending from the first proximal end to a first interior end wall, the first interior end wall being disposed between the first proximal end and the proximal end wall, a bore which is aligned with the first longitudinal axis, the bore extending from the first interior end wall to the proximal end wall, a first static vane spaced from the proximal end wall along the first longitudinal axis, the first static vane being disposed opposite the proximal end wall, and an array of baffles aligned with the bore, the array of baffles being arranged between the first static vane and the distal end. a core having a first longitudinal axis, the core comprising a first proximal end, a first distal end spaced from the first proximal end along the first longitudinal axis, and a first end cap disposed adjacent to the first proximal end, the first end cap comprises a proximal end wall, an opening for receiving a barrel of a firearm, the opening extending from the first proximal end to a first interior end wall, the first interior end wall being disposed between the first proximal end and the proximal end wall, a bore which is aligned with the first longitudinal axis, the bore extending from the first interior end wall to the proximal end wall, a first static vane spaced from the proximal end wall along the first longitudinal axis, the first static vane being disposed opposite the proximal end wall, and an array of baffles aligned with the bore, the array of baffles being arranged between the first static vane and the distal end. a first proximal end, a first distal end spaced from the first proximal end along the first longitudinal axis, and a first end cap disposed adjacent to the first proximal end, the first end cap comprises a proximal end wall, a proximal end wall, an opening for receiving a barrel of a firearm, the opening extending from the first proximal end to a first interior end wall, the first interior end wall being disposed between the first proximal end and the proximal end wall, a bore which is aligned with the first longitudinal axis, the bore extending from the first interior end wall to the proximal end wall, a first static vane spaced from the proximal end wall along the first longitudinal axis, the first static vane being disposed opposite the proximal end wall, and an array of baffles aligned with the bore, the array of baffles being arranged between the first static vane and the distal end.
Google Patents
https://patents.google.com/patent/US12449219
USPTO PDF
https://image-ppubs.uspto.gov/dirsearch-public/print/downloadPdf/12449219