US12449227 - Archery release aid mount

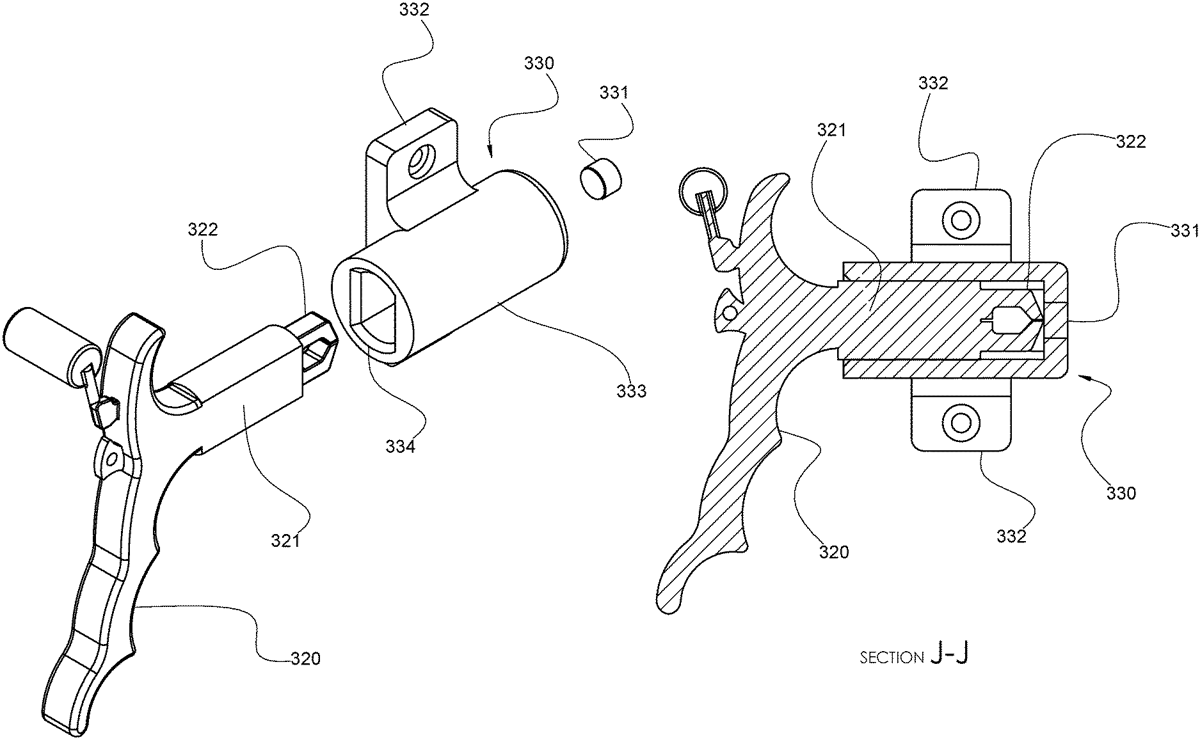
The patent describes an archery release aid mount featuring a cylindrical body designed to securely hold an archery release aid using a magnetic securing device, allowing for tool-free removal. This design ensures that the release aid remains stable and prevents rotation while mounted, enhancing user convenience during archery.
Claim 1
- An archery release aid mount, comprising: a cylindrical body having an opening extending into the axial length of the cylindrical body and rounded to match the shape of a cylindrical shaped shaft of an archery release aid to be held by the archery release aid mount; a mount extending from or integral with a side of the cylindrical body; and a securing device for the archery release aid mount receiving the archery release aid configured to allow a user to without tools remove the archery release aid from the archery release aid mount when the user wants to use the archery release aid during archery, the securing device including a magnet at an end of the cylindrical body to contact the shaft of the archery release aid to magnetically hold the archery release aid within the cylindrical body, wherein the cylindrical body axial length is shaped to prevent rotation of the shaft of the archery release aid when held in the securing device. a cylindrical body having an opening extending into the axial length of the cylindrical body and rounded to match the shape of a cylindrical shaped shaft of an archery release aid to be held by the archery release aid mount; a mount extending from or integral with a side of the cylindrical body; and a securing device for the archery release aid mount receiving the archery release aid configured to allow a user to without tools remove the archery release aid from the archery release aid mount when the user wants to use the archery release aid during archery, the securing device including a magnet at an end of the cylindrical body to contact the shaft of the archery release aid to magnetically hold the archery release aid within the cylindrical body, wherein the cylindrical body axial length is shaped to prevent rotation of the shaft of the archery release aid when held in the securing device.
Google Patents
https://patents.google.com/patent/US12449227
USPTO PDF
https://image-ppubs.uspto.gov/dirsearch-public/print/downloadPdf/12449227