US12449232 - Weapon storage box with defense function

The patent describes a weapon storage box that can function both as a secure storage unit and a protective shield when unfolded. It features a locking mechanism that ensures the box remains closed during transport and securely locks in place when used as a shield.
Claim 1
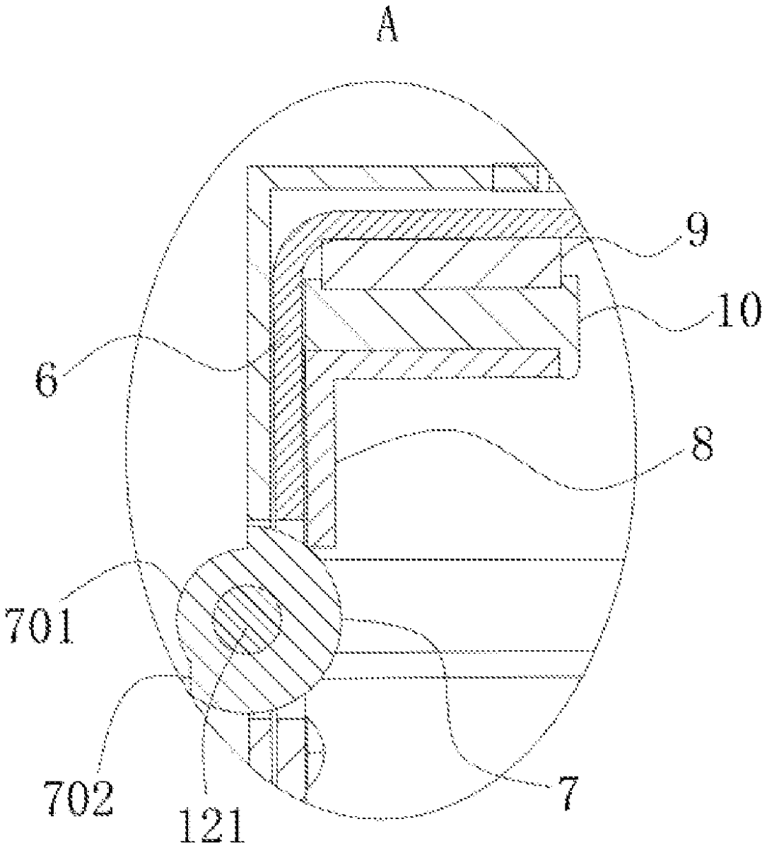
- A weapon storage box with a defense function, comprising a box body upper cover, and a box body lower cover; wherein the box body upper cover and the box body lower cover are rotationally connected and are capable of switching between a closing state and an unfolding state; when in the closing state, the box body upper cover and the box body lower cover define a storage cavity used for storing articles; a box lock is arranged between the box body upper cover and the box body lower cover; the box lock is used for locking the box body upper cover and the box body lower cover in the closing state; any one of the box body upper cover and the box body lower cover is provided with a window, and the other one of the box body upper cover and the box body lower cover is provided with a handle positioned in the storage cavity so that the box body upper cover and the box body lower cover are spliced to form a shield in the unfolding state; an opening and closing locking mechanism is also arranged between the box body upper cover and the box body lower cover; and the opening and closing locking mechanism is used for locking the box body upper cover and the box body lower cover in the unfolding state; wherein the opening and closing locking mechanism comprises an opening and closing lock pin and a lock pin clamping plate: the opening and closing lock pin is fixedly connected to one of the box body upper cover and the box body lower cover, and the lock pin clamping plate is movably connected to an other one of the box body upper cover and the box body lower cover: an elastic force is applied to the lock pin clamping plate all the time through an elastic piece; and the opening and closing lock pin is provided with a clamping stopping position: when the box body upper cover and the box body lower cover are in a non-unfolding state, the lock pin clamping plate is outside the clamping stopping position of the opening and closing lock pin; and when the box body upper cover and the box body lower cover are in the unfolding state, the lock pin clamping plate falls into the clamping stopping position through the elastic force of the elastic piece, and accordingly locking is realized. wherein the box body upper cover and the box body lower cover are rotationally connected and are capable of switching between a closing state and an unfolding state; when in the closing state, the box body upper cover and the box body lower cover define a storage cavity used for storing articles; a box lock is arranged between the box body upper cover and the box body lower cover; the box lock is used for locking the box body upper cover and the box body lower cover in the closing state; any one of the box body upper cover and the box body lower cover is provided with a window, and the other one of the box body upper cover and the box body lower cover is provided with a handle positioned in the storage cavity so that the box body upper cover and the box body lower cover are spliced to form a shield in the unfolding state; an opening and closing locking mechanism is also arranged between the box body upper cover and the box body lower cover; and the opening and closing locking mechanism is used for locking the box body upper cover and the box body lower cover in the unfolding state; wherein the opening and closing locking mechanism comprises an opening and closing lock pin and a lock pin clamping plate: the opening and closing lock pin is fixedly connected to one of the box body upper cover and the box body lower cover, and the lock pin clamping plate is movably connected to an other one of the box body upper cover and the box body lower cover: an elastic force is applied to the lock pin clamping plate all the time through an elastic piece; and the opening and closing lock pin is provided with a clamping stopping position: when the box body upper cover and the box body lower cover are in a non-unfolding state, the lock pin clamping plate is outside the clamping stopping position of the opening and closing lock pin; and when the box body upper cover and the box body lower cover are in the unfolding state, the lock pin clamping plate falls into the clamping stopping position through the elastic force of the elastic piece, and accordingly locking is realized.
Google Patents
https://patents.google.com/patent/US12449232
USPTO PDF
https://image-ppubs.uspto.gov/dirsearch-public/print/downloadPdf/12449232