US12449236 - Multipurpose bulletproof pads with non-flammable property

The patent describes a multipurpose bulletproof pad that combines a core material made from woven fiberglass and aramid with an outer cover of high-density polyethylene and impregnated kraft paper, enhanced by a non-flammable member of acrylic resin and ceramic coating. This design aims to improve bulletproof effectiveness and non-flammability, making it suitable for various applications in building interiors and exteriors.
Claim 1
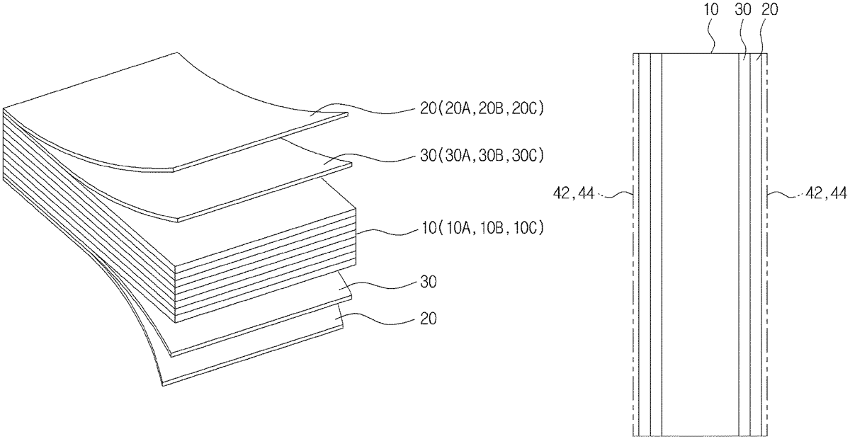
- A multipurpose bulletproof pad with a non-flammable property, the multipurpose bulletproof pad comprising: a core material including a stack structure of a woven fiber glass and an aramid; an outer cover member disposed on an outer surface of the core material, wherein the outer core member includes high-density polyethylene and impregnated kraft paper; and a non-flammable member disposed on at least one surface of the outer cover member, wherein the non-flammable member includes an acrylic resin and a ceramic coating material. a core material including a stack structure of a woven fiber glass and an aramid; an outer cover member disposed on an outer surface of the core material, wherein the outer core member includes high-density polyethylene and impregnated kraft paper; and a non-flammable member disposed on at least one surface of the outer cover member, wherein the non-flammable member includes an acrylic resin and a ceramic coating material.
Google Patents
https://patents.google.com/patent/US12449236
USPTO PDF
https://image-ppubs.uspto.gov/dirsearch-public/print/downloadPdf/12449236