US12449239 - Ballistic block and ballistic wall made of ballistic blocks

The patent describes a ballistic block designed in a prismatic shape, featuring walls with recesses or holes that enhance structural integrity against bullet impacts. Additionally, the invention includes a ballistic wall constructed from multiple ballistic blocks, which can be filled with ballistic pellets for improved protection.
Claim 1
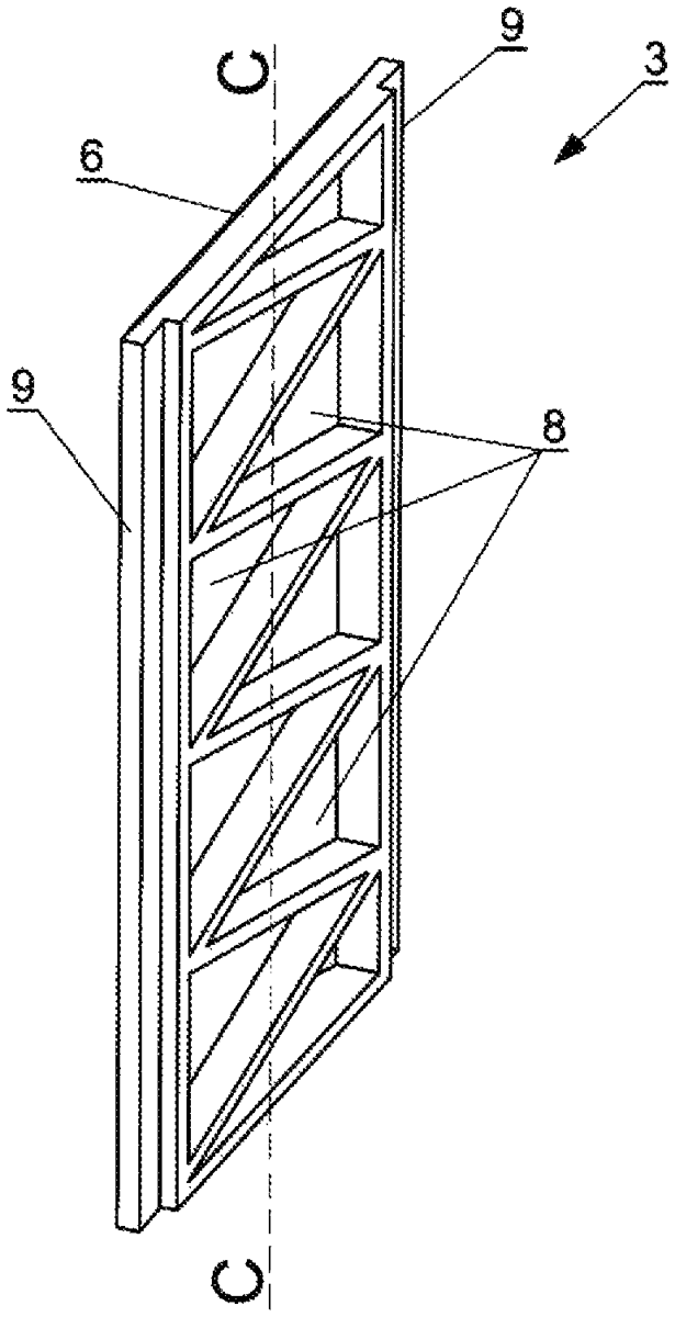
- A ballistic block, comprising: a front wall; a back wall; and side walls each including recesses or through holes at an inner or outer side thereof and along a height thereof from a top to a bottom of each side wall, the side walls connected to the front wall and the back wall, forming a shape of a prism with a through space, wherein the through space is configured to be filled with ballistic pellets, wherein the recesses or through holes of the side walls each have a triangular cross-section, the recesses or through holes of the side walls are each defined by an undulating line extending from the top to the bottom of each side wall, and the undulating line includes a plurality of segments each being non-perpendicular to the front wall, preventing each side wall from being torn apart by a bullet which contacts a respective segment of the plurality of segments of the undulating line that defines the recesses or through holes of each side wall. a front wall; a back wall; and side walls each including recesses or through holes at an inner or outer side thereof and along a height thereof from a top to a bottom of each side wall, the side walls connected to the front wall and the back wall, forming a shape of a prism with a through space, wherein the through space is configured to be filled with ballistic pellets, wherein the recesses or through holes of the side walls each have a triangular cross-section, the recesses or through holes of the side walls are each defined by an undulating line extending from the top to the bottom of each side wall, and the undulating line includes a plurality of segments each being non-perpendicular to the front wall, preventing each side wall from being torn apart by a bullet which contacts a respective segment of the plurality of segments of the undulating line that defines the recesses or through holes of each side wall.
Google Patents
https://patents.google.com/patent/US12449239
USPTO PDF
https://image-ppubs.uspto.gov/dirsearch-public/print/downloadPdf/12449239