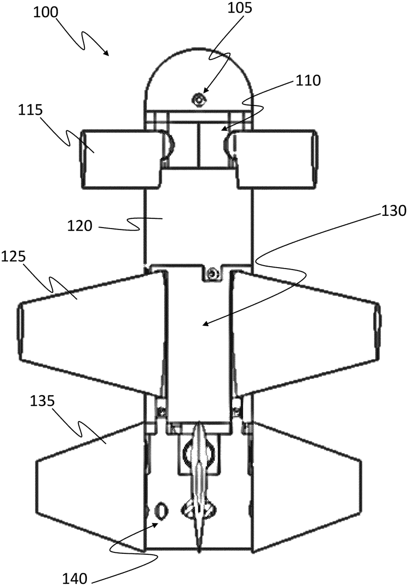
US12449241 - Weaponized unmanned vehicles, weapons release systems, and low-cost munitions for remotely engaging one or more targets

This patent describes a guided munition system integrated with unmanned aerial vehicles (UAVs) that allows for remote targeting and engagement of threats while providing advanced reconnaissance capabilities. The system features a sophisticated airframe with control surfaces, a sensor suite, and a flight controller that enables real-time adjustments to ensure accurate target interception.
Claim 1
- A guided round or munition comprising: an airframe comprising a forebody, a midbody, and an aftbody; a sensor suite adapted to measure vehicle state data of the round or munition in flight; at least two pairs of mechanically and electrically coupled control surfaces located on the forebody of the airframe and disposed equidistant from each other around the circumference of the airframe, at least one of the at least two pairs dedicated to controlling pitch of the round or munition in flight, and at least one of the at least two pairs dedicated to controlling yaw of the round or munition in flight, each pair comprising an actuator adapted to activate or adjust its pair of control surfaces; at least two midbody wings; at least four aftbody tailfins dedicated to controlling roll of the airframe in flight; at least one radio adapted to provide two-way communication between the round or munition and a host vehicle and/or between the round or munition and a remote user, the radio adapted to receive at least in part target information from the host vehicle or from the remote user; a warhead or payload; and a flight controller adapted to: 1) receive the measured vehicle state data and the target information, 2) either: a. receive a flight path from the host vehicle or the remote user, or b. determine a flight path to intercept a target based on the vehicle state data and the target information, and 3) determine adjustments for at least one of the at least two pairs of mechanically and electrically coupled control surfaces and/or at least one of the at least four tailfins, the adjustments adapted to keep the round or munition on the flight path in order to engage the target. an airframe comprising a forebody, a midbody, and an aftbody; a sensor suite adapted to measure vehicle state data of the round or munition in flight; at least two pairs of mechanically and electrically coupled control surfaces located on the forebody of the airframe and disposed equidistant from each other around the circumference of the airframe, at least one of the at least two pairs dedicated to controlling pitch of the round or munition in flight, and at least one of the at least two pairs dedicated to controlling yaw of the round or munition in flight, each pair comprising an actuator adapted to activate or adjust its pair of control surfaces; at least two midbody wings; at least four aftbody tailfins dedicated to controlling roll of the airframe in flight; at least one radio adapted to provide two-way communication between the round or munition and a host vehicle and/or between the round or munition and a remote user, the radio adapted to receive at least in part target information from the host vehicle or from the remote user; a warhead or payload; and a flight controller adapted to: 1) receive the measured vehicle state data and the target information, 2) either: a. receive a flight path from the host vehicle or the remote user, or b. determine a flight path to intercept a target based on the vehicle state data and the target information, and 3) determine adjustments for at least one of the at least two pairs of mechanically and electrically coupled control surfaces and/or at least one of the at least four tailfins, the adjustments adapted to keep the round or munition on the flight path in order to engage the target. 1) receive the measured vehicle state data and the target information, 2) either: a. receive a flight path from the host vehicle or the remote user, or b. determine a flight path to intercept a target based on the vehicle state data and the target information, and a. receive a flight path from the host vehicle or the remote user, or b. determine a flight path to intercept a target based on the vehicle state data and the target information, and 3) determine adjustments for at least one of the at least two pairs of mechanically and electrically coupled control surfaces and/or at least one of the at least four tailfins, the adjustments adapted to keep the round or munition on the flight path in order to engage the target.
Google Patents
https://patents.google.com/patent/US12449241
USPTO PDF
https://image-ppubs.uspto.gov/dirsearch-public/print/downloadPdf/12449241