US12455144 - Ballistic protection system and method therefor

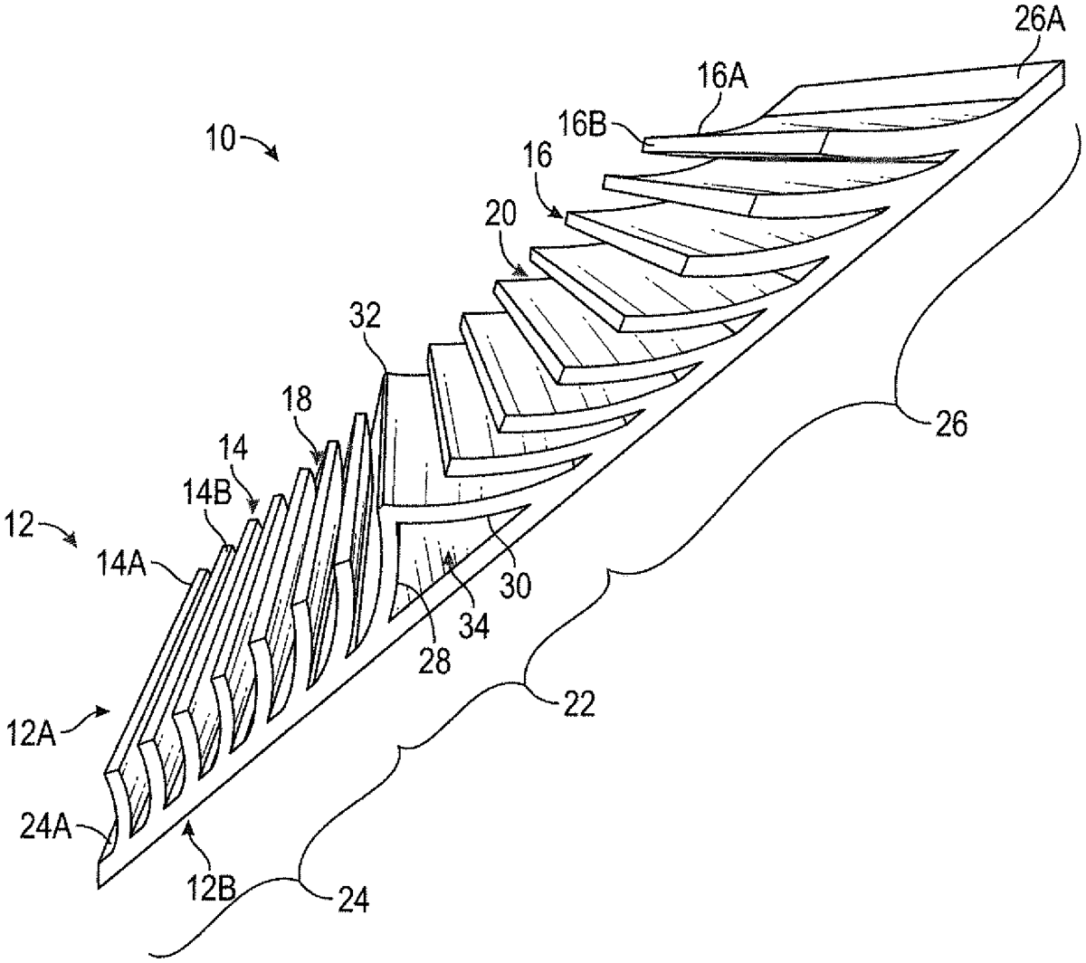
The patent describes a ballistic panel designed to enhance projectile impact resistance through a unique arrangement of angled protrusions on its front surface, which increases the contact area with incoming projectiles. This innovative design aims to improve the overall effectiveness of ballistic protection systems.
Claim 1
- A ballistic panel providing ballistic protection comprising: a plate having a rear surface, a front surface, and a central region; a first plurality of protrusions formed across the front surface of the plate; a second plurality of protrusions formed across the front surface of the plate; wherein the first plurality of protrusions formed on the front surface of the plate are angled in a first direction toward the central region of the plate; wherein the second plurality of protrusions formed on the front surface of the plate are angled in a second direction toward the central region of the plate; and wherein the central region of the plate comprises a first side wall and a second side wall wherein the first and second side walls are conjoined at an apex. a plate having a rear surface, a front surface, and a central region; a first plurality of protrusions formed across the front surface of the plate; a second plurality of protrusions formed across the front surface of the plate; wherein the first plurality of protrusions formed on the front surface of the plate are angled in a first direction toward the central region of the plate; wherein the second plurality of protrusions formed on the front surface of the plate are angled in a second direction toward the central region of the plate; and wherein the central region of the plate comprises a first side wall and a second side wall wherein the first and second side walls are conjoined at an apex.
Google Patents
https://patents.google.com/patent/US12455144
USPTO PDF
https://image-ppubs.uspto.gov/dirsearch-public/print/downloadPdf/12455144