US12455149 - Shaped charge with reactive material

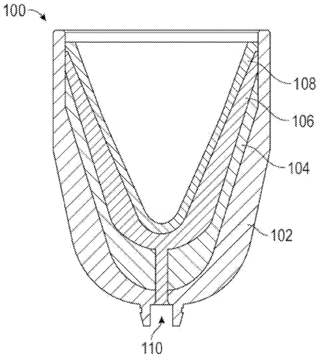
The patent describes an apparatus that includes an explosive material, a liner to create jets for perforating tubulars in subsurface boreholes, and a reactive material that releases energy upon detonation. It features a conoidal-shaped case that surrounds these components, with the thickness of the reactive material increasing from the apex to the base of the shape.
Claim 1
1 . An apparatus comprising: an explosive material configured to detonate; a liner in contact with the explosive material, the liner configured to, after detonation of the explosive material, form jets to perforate a tubular disposed in a subsurface borehole; a reactive material configured to release energy in response to detonation of the explosive material; and a case with a conoidal shape in contact with the liner and a portion of the reactive material and configured to surround the explosive material, the liner, and the reactive material, wherein a thickness of the reactive material increases as the reactive material spans from an orifice at an apex of the conoidal shape substantially to a base of the conoidal shape. an explosive material configured to detonate; a liner in contact with the explosive material, the liner configured to, after detonation of the explosive material, form jets to perforate a tubular disposed in a subsurface borehole; a reactive material configured to release energy in response to detonation of the explosive material; and a case with a conoidal shape in contact with the liner and a portion of the reactive material and configured to surround the explosive material, the liner, and the reactive material, wherein a thickness of the reactive material increases as the reactive material spans from an orifice at an apex of the conoidal shape substantially to a base of the conoidal shape.
Google Patents
https://patents.google.com/patent/US12455149
USPTO PDF
https://image-ppubs.uspto.gov/dirsearch-public/print/downloadPdf/12455149