US12489283 - Cable management system

This patent describes a cable management system designed for easy installation and secure mounting, featuring multiple cable channels and a plug mechanism for attachment. The device allows for toolless setup and can accommodate multiple cables simultaneously, enhancing organization and routing flexibility.
Claim 1
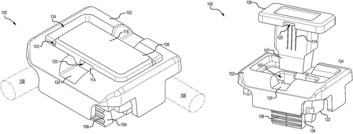
1 . A cable management system comprising: a cable management device comprising: a means for removably coupling the cable management device to a slot; two or more cable channels on a bottom of the cable management device, wherein two of the two or more cable channels intersect; an aperture; and a first plug slidingly engaged in the aperture, wherein full insertion of the first plug into the aperture causes the means for removably coupling the cable management device to the slot to secure the cable management device in a location along the slot; and a first cable secured within one of the two or more cable channels when the first plug is fully inserted into the aperture. a cable management device comprising: a means for removably coupling the cable management device to a slot; two or more cable channels on a bottom of the cable management device, wherein two of the two or more cable channels intersect; an aperture; and a first plug slidingly engaged in the aperture, wherein full insertion of the first plug into the aperture causes the means for removably coupling the cable management device to the slot to secure the cable management device in a location along the slot; and a means for removably coupling the cable management device to a slot; two or more cable channels on a bottom of the cable management device, wherein two of the two or more cable channels intersect; an aperture; and a first plug slidingly engaged in the aperture, wherein full insertion of the first plug into the aperture causes the means for removably coupling the cable management device to the slot to secure the cable management device in a location along the slot; and a first cable secured within one of the two or more cable channels when the first plug is fully inserted into the aperture.
Google Patents
https://patents.google.com/patent/US12489283
USPTO PDF
https://image-ppubs.uspto.gov/dirsearch-public/print/downloadPdf/12489283