US12507777 - Selectively sealable evacuable storage bag and method of making and using the same

The patent describes a selectively sealable evacuable storage bag made from flexible waterproof materials, featuring a valve and a seal that allows for the evacuation of air to create a vacuum-sealed environment for stored articles. The method of making the bag involves welding two mirror-image sides together, incorporating a conduit for air removal, and ensuring the bag conforms to the article in its evacuated state.
Claim 1
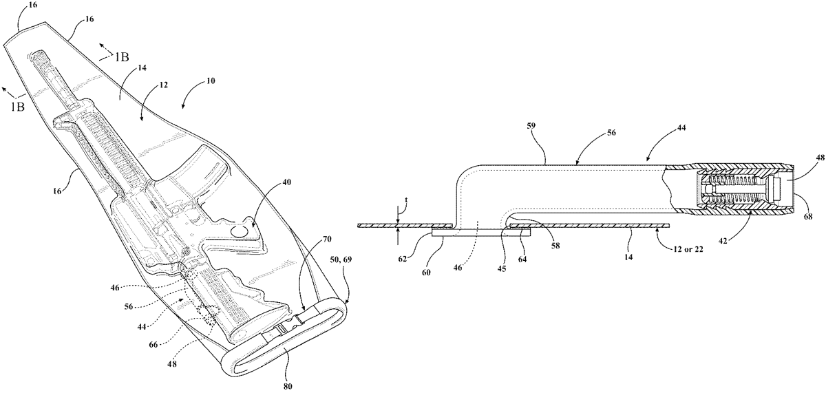
1 . A method of making a selectively sealable evacuable storage bag, comprising: forming a first side comprising a flexible waterproof bag material comprising a thermoplastic polyurethane having a first peripheral shape, a thickness, a first inner surface and a first outer surface; forming an opposed second side comprising the flexible waterproof bag material having a second peripheral shape that comprises a mirror image of the first peripheral shape, the thickness, a second inner surface, and a second outer surface, the first peripheral shape and first inner surface in corresponding engagement with the second peripheral shape and second inner surface; forming a conduit opening in one of the first side or second side; placing the first peripheral shape and first inner surface in corresponding engagement with the second peripheral shape and second inner surface; welding the first side to the second side and forming a waterproof weld joining a first peripheral portion of the first side to a second peripheral portion of the second side and defining an opening on an open end, a closed end, and a storage chamber extending between them, the opening configured to receive an article within the storage chamber; disposing a conduit over the conduit opening, the conduit comprises an L-shaped tube of a polyether thermoplastic polyurethane comprising a first leg and a second leg, an attachment flange disposed on a first end of the first leg that is configured for attachment by a circumferential weld proximate the conduit opening to the respective first side or second side, a selectively sealable cap attached by an attachment member to the second leg and configured to sealably cover the second leg at a second end, and a selectively actuable valve disposed in the conduit, and welding the attachment flange of the conduit sealably by the circumferential weld to the respective first side or second side, the conduit extending from the conduit opening in the respective first side or second side to an outlet opening; and forming a selectively openable and closable seal disposed proximate the opening and configured to enable insertion and extraction of the article in an open condition and a watertight and airtight seal in a closed condition, wherein in the closed condition of the selectively openable and closable seal the storage chamber is evacuable from an unevacuated condition to an evacuated condition by selective removal of a gas through the selectively actuable valve, and wherein the flexible waterproof bag material is configured to conform to the article in the evacuated condition, and wherein the flexible waterproof bag material is selected to provide selective operability of the article and a predetermined member of the article in the evacuated condition. forming a first side comprising a flexible waterproof bag material comprising a thermoplastic polyurethane having a first peripheral shape, a thickness, a first inner surface and a first outer surface; forming an opposed second side comprising the flexible waterproof bag material having a second peripheral shape that comprises a mirror image of the first peripheral shape, the thickness, a second inner surface, and a second outer surface, the first peripheral shape and first inner surface in corresponding engagement with the second peripheral shape and second inner surface; forming a conduit opening in one of the first side or second side; placing the first peripheral shape and first inner surface in corresponding engagement with the second peripheral shape and second inner surface; welding the first side to the second side and forming a waterproof weld joining a first peripheral portion of the first side to a second peripheral portion of the second side and defining an opening on an open end, a closed end, and a storage chamber extending between them, the opening configured to receive an article within the storage chamber; disposing a conduit over the conduit opening, the conduit comprises an L-shaped tube of a polyether thermoplastic polyurethane comprising a first leg and a second leg, an attachment flange disposed on a first end of the first leg that is configured for attachment by a circumferential weld proximate the conduit opening to the respective first side or second side, a selectively sealable cap attached by an attachment member to the second leg and configured to sealably cover the second leg at a second end, and a selectively actuable valve disposed in the conduit, and welding the attachment flange of the conduit sealably by the circumferential weld to the respective first side or second side, the conduit extending from the conduit opening in the respective first side or second side to an outlet opening; and forming a selectively openable and closable seal disposed proximate the opening and configured to enable insertion and extraction of the article in an open condition and a watertight and airtight seal in a closed condition, wherein in the closed condition of the selectively openable and closable seal the storage chamber is evacuable from an unevacuated condition to an evacuated condition by selective removal of a gas through the selectively actuable valve, and wherein the flexible waterproof bag material is configured to conform to the article in the evacuated condition, and wherein the flexible waterproof bag material is selected to provide selective operability of the article and a predetermined member of the article in the evacuated condition.
Google Patents
https://patents.google.com/patent/US12507777
USPTO PDF
https://image-ppubs.uspto.gov/dirsearch-public/print/downloadPdf/12507777