US12510130 - Shock and thermal protection for smart munitions

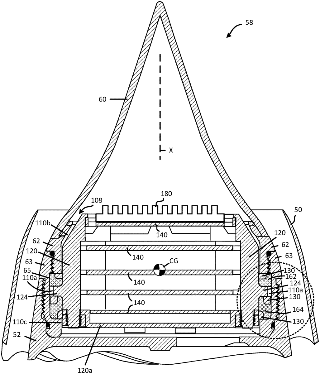
The patent describes an isolation assembly designed to protect electronic components within munitions from shock and thermal loads, featuring a shuttle suspended by viscoelastic disks that allow for multi-axis movement. This assembly is integrated into a housing that has a resonant frequency significantly lower than that of the electronic components, ensuring effective mitigation of external forces.
Claim 1
1 . An isolation assembly for shock and thermal mitigation comprising: a housing of size, shape and material to support integration within a translated vehicle; an absorber assembly located inside the housing and adapted to mitigate transmitted shock and thermal loads, the absorber assembly comprising: a shuttle of size, shape, and material to internally support electronic components and externally to provide multi-axis compression; a plurality of disks of viscoelastic material contained between an inner surface of the housing and an outer surface of the shuttle, the plurality of disks suspending the shuttle and allowing the shuttle to translate with six degrees of freedom via a non-linear spring rate resulting from compression of the viscoelastic material in which a modulus of the viscoelastic material is converted from an elastic modulus to a bulk modulus; wherein the housing has a resonant frequency at least one order of magnitude below a resonant frequency of the one or more electronic components. a housing of size, shape and material to support integration within a translated vehicle; an absorber assembly located inside the housing and adapted to mitigate transmitted shock and thermal loads, the absorber assembly comprising: a shuttle of size, shape, and material to internally support electronic components and externally to provide multi-axis compression; a plurality of disks of viscoelastic material contained between an inner surface of the housing and an outer surface of the shuttle, the plurality of disks suspending the shuttle and allowing the shuttle to translate with six degrees of freedom via a non-linear spring rate resulting from compression of the viscoelastic material in which a modulus of the viscoelastic material is converted from an elastic modulus to a bulk modulus; wherein the housing has a resonant frequency at least one order of magnitude below a resonant frequency of the one or more electronic components.
Google Patents
https://patents.google.com/patent/US12510130
USPTO PDF
https://image-ppubs.uspto.gov/dirsearch-public/print/downloadPdf/12510130