US12510318 - Firearm trigger

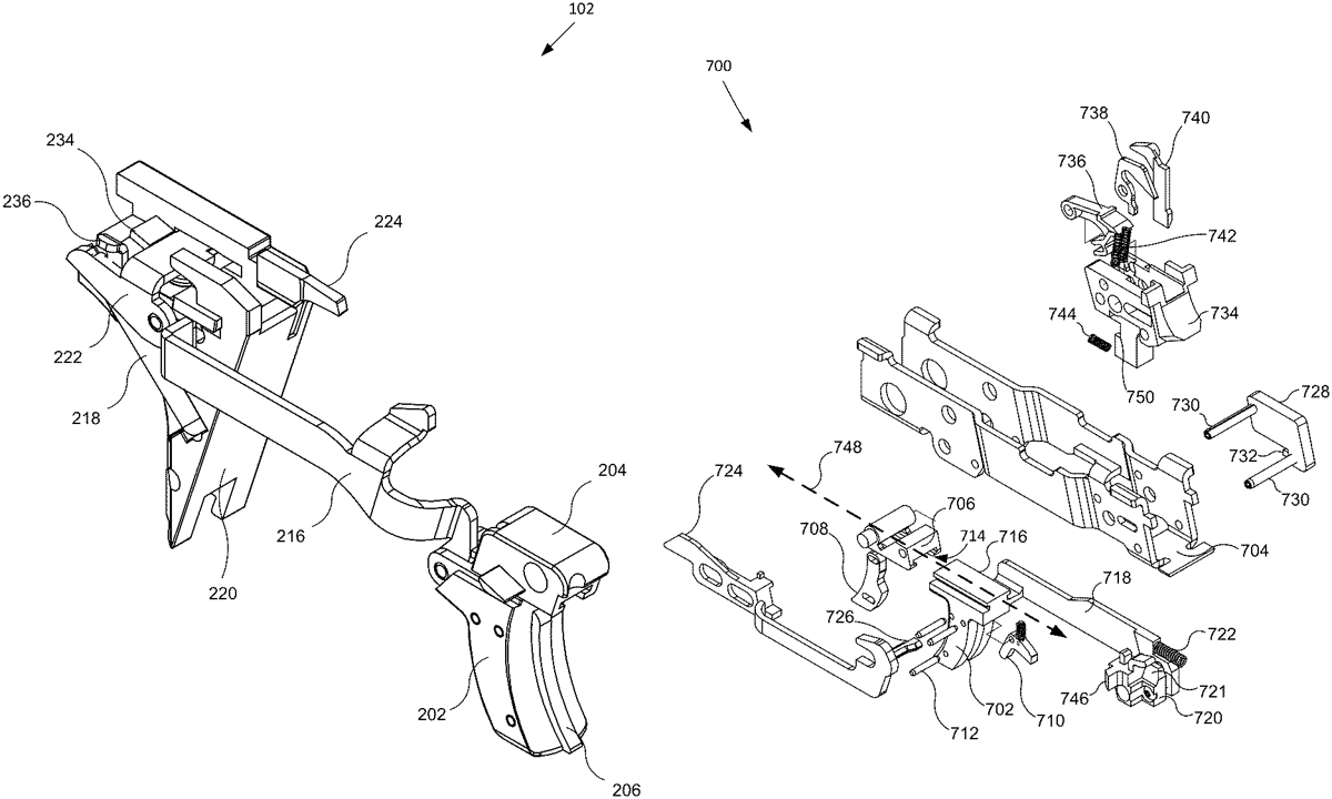
The patent describes a linear trigger mechanism for firearms that features a trigger housing, a slideable trigger, and a trigger bar connected to a sear activation module. This design allows for both longitudinal and lateral movement of the sear activation module in relation to the trigger bar and fire control unit.
Claim 1
1 . A trigger mechanism for a firearm, comprising: a trigger housing configured to couple with a fire control unit of the firearm; a trigger slideably coupled with the trigger housing and movable along a linear path; and a trigger bar having a first end coupled with the trigger and a second end coupled with a sear activation module, where the sear activation module is moveable with respect to the fire control unit along a longitudinal path with the trigger bar, and where the sear activation module is moveable laterally with respect to the trigger bar. a trigger housing configured to couple with a fire control unit of the firearm; a trigger slideably coupled with the trigger housing and movable along a linear path; and a trigger bar having a first end coupled with the trigger and a second end coupled with a sear activation module, where the sear activation module is moveable with respect to the fire control unit along a longitudinal path with the trigger bar, and where the sear activation module is moveable laterally with respect to the trigger bar.
Google Patents
https://patents.google.com/patent/US12510318
USPTO PDF
https://image-ppubs.uspto.gov/dirsearch-public/print/downloadPdf/12510318