US12510324 - Projectile launcher

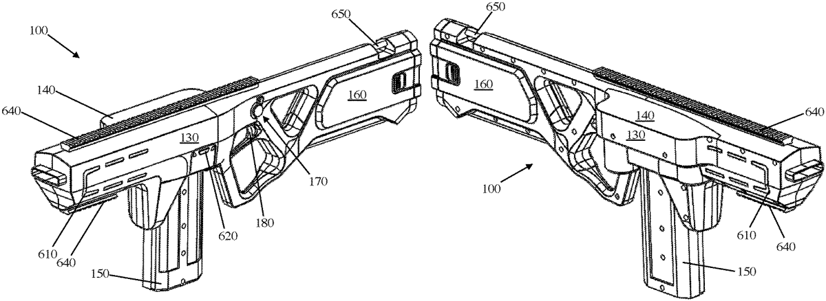
The patent describes a projectile launcher featuring a motor-driven flywheel that operates at approximately 24,000 RPM and is designed to fire disc projectiles at a rate of about 6.5 projectiles per second in automatic mode. It includes a flywheel housing with a passageway for projectile entry and release, along with idler bearings to ensure consistent projectile release and rotation.
Claim 1
1 . A projectile launcher, comprising: a motor driven flywheel having a rotational axis and a roughened circumferential edge surface, wherein the motor driven flywheel is driven at a rotational speed of approximately 24,000 revolutions per minute; and a flywheel housing having a passageway therethrough, the passageway comprising an entry opening at a first end that is configured to receive at least one disc projectile, and a release opening at a second end; and idler bearings positioned at the entry opening and at the release opening, the idler bearings configured to provide consistent point of release and rotation of each of the at least one disc projectile wherein the launcher is configured to fire projectiles at a rate of approximately 6.5 projectiles per second in automatic firing mode. a motor driven flywheel having a rotational axis and a roughened circumferential edge surface, wherein the motor driven flywheel is driven at a rotational speed of approximately 24,000 revolutions per minute; and a flywheel housing having a passageway therethrough, the passageway comprising an entry opening at a first end that is configured to receive at least one disc projectile, and a release opening at a second end; and idler bearings positioned at the entry opening and at the release opening, the idler bearings configured to provide consistent point of release and rotation of each of the at least one disc projectile wherein the launcher is configured to fire projectiles at a rate of approximately 6.5 projectiles per second in automatic firing mode.
Google Patents
https://patents.google.com/patent/US12510324
USPTO PDF
https://image-ppubs.uspto.gov/dirsearch-public/print/downloadPdf/12510324