US12510335 - Gas generator

The patent describes a gas generator designed for firearms, featuring an ignition device with a resin-based igniter holding portion and a case that houses a gas-generating agent. Additionally, it includes a reinforcing structure that enhances the breaking strength of the case, ensuring safe and effective operation during ignition.
Claim 1
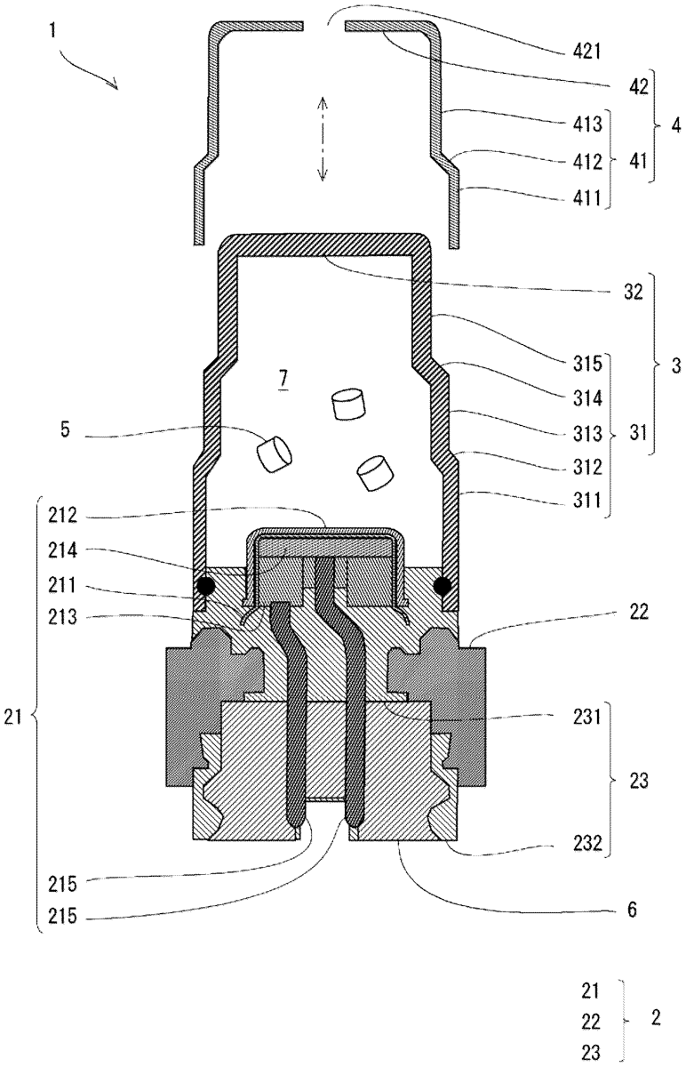
1 . A gas generator, comprising: an ignition device including an igniter, an igniter holding portion having a tubular shape and being configured to hold the igniter in a state of surrounding the igniter, and a fixing portion made of resin and being configured to fix the igniter to the igniter holding portion; a case having a bottomed tubular shape and being configured to accommodate a gas generating agent which combusts by actuation of the ignition device, the case being made of resin and including a first side wall with a base end side being connected to the fixing portion, and a closing end configured to close a tip end side, the case having a step formed in an outer peripheral surface of the first side wall; and a reinforcing structure including a bottom surface and a second side wall and covering the case such that at least a part of the second side wall is accommodated in the step, the reinforcing structure including an opening, and having a greater breaking strength than a breaking strength of the case. an ignition device including an igniter, an igniter holding portion having a tubular shape and being configured to hold the igniter in a state of surrounding the igniter, and a fixing portion made of resin and being configured to fix the igniter to the igniter holding portion; a case having a bottomed tubular shape and being configured to accommodate a gas generating agent which combusts by actuation of the ignition device, the case being made of resin and including a first side wall with a base end side being connected to the fixing portion, and a closing end configured to close a tip end side, the case having a step formed in an outer peripheral surface of the first side wall; and a reinforcing structure including a bottom surface and a second side wall and covering the case such that at least a part of the second side wall is accommodated in the step, the reinforcing structure including an opening, and having a greater breaking strength than a breaking strength of the case.
Google Patents
https://patents.google.com/patent/US12510335
USPTO PDF
https://image-ppubs.uspto.gov/dirsearch-public/print/downloadPdf/12510335