US12510337 - Actively-cooled heat shield system and vehicle including the same

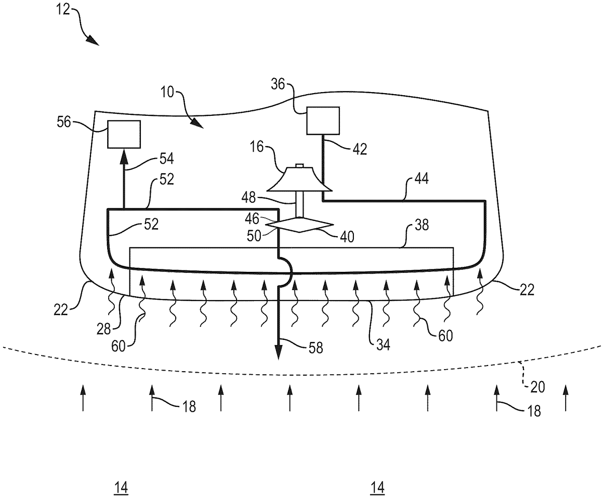
This patent describes an actively-cooled heat shield system for an upper stage rocket, which includes components such as a heat shield, coolant tank, pump, heat exchanger, and turbine. The system is designed to manage heat during atmospheric re-entry by transferring heat from the shield to a coolant, which in turn powers the pump through a turbine mechanism.
Claim 1
1 . An upper stage rocket of a multi-stage rocket system, the upper stage rocket comprising: a forward end; an aft end opposite the forward end; a propulsion engine at the aft end; an actively-cooled heat shield system including: a heat shield at the aft end and defining a windward side of the upper stage rocket during travel of the upper stage rocket in an atmospheric re-entry trajectory; a tank onboard the upper stage rocket, the tank configured to store a coolant; a pump onboard the upper stage rocket, the pump configured to receive the coolant from the tank and output a pressurized coolant; a heat exchanger onboard the upper stage rocket, the heat exchanger integrally connected with the heat shield and configured to receive the pressurized coolant from the pump, transfer heat from the heat shield to the pressurized coolant to generate a heated fluid, and output the heated fluid; a turbine onboard the upper stage rocket, the turbine including: an inlet configured to receive the heated fluid output from the heat exchanger; a shaft coupled to the pump and including turbine blades mounted thereon, the shaft configured to rotate and thereby power the pump when the heated fluid received from the heat exchanger acts on the turbine blades; and an outlet configured to output the heated fluid. a forward end; an aft end opposite the forward end; a propulsion engine at the aft end; an actively-cooled heat shield system including: a heat shield at the aft end and defining a windward side of the upper stage rocket during travel of the upper stage rocket in an atmospheric re-entry trajectory; a tank onboard the upper stage rocket, the tank configured to store a coolant; a pump onboard the upper stage rocket, the pump configured to receive the coolant from the tank and output a pressurized coolant; a heat exchanger onboard the upper stage rocket, the heat exchanger integrally connected with the heat shield and configured to receive the pressurized coolant from the pump, transfer heat from the heat shield to the pressurized coolant to generate a heated fluid, and output the heated fluid; a turbine onboard the upper stage rocket, the turbine including: an inlet configured to receive the heated fluid output from the heat exchanger; a shaft coupled to the pump and including turbine blades mounted thereon, the shaft configured to rotate and thereby power the pump when the heated fluid received from the heat exchanger acts on the turbine blades; and an outlet configured to output the heated fluid. a heat shield at the aft end and defining a windward side of the upper stage rocket during travel of the upper stage rocket in an atmospheric re-entry trajectory; a tank onboard the upper stage rocket, the tank configured to store a coolant; a pump onboard the upper stage rocket, the pump configured to receive the coolant from the tank and output a pressurized coolant; a heat exchanger onboard the upper stage rocket, the heat exchanger integrally connected with the heat shield and configured to receive the pressurized coolant from the pump, transfer heat from the heat shield to the pressurized coolant to generate a heated fluid, and output the heated fluid; a turbine onboard the upper stage rocket, the turbine including: an inlet configured to receive the heated fluid output from the heat exchanger; a shaft coupled to the pump and including turbine blades mounted thereon, the shaft configured to rotate and thereby power the pump when the heated fluid received from the heat exchanger acts on the turbine blades; and an outlet configured to output the heated fluid. an inlet configured to receive the heated fluid output from the heat exchanger; a shaft coupled to the pump and including turbine blades mounted thereon, the shaft configured to rotate and thereby power the pump when the heated fluid received from the heat exchanger acts on the turbine blades; and an outlet configured to output the heated fluid.
Google Patents
https://patents.google.com/patent/US12510337
USPTO PDF
https://image-ppubs.uspto.gov/dirsearch-public/print/downloadPdf/12510337