US12510339 - Grenade pouch adapter

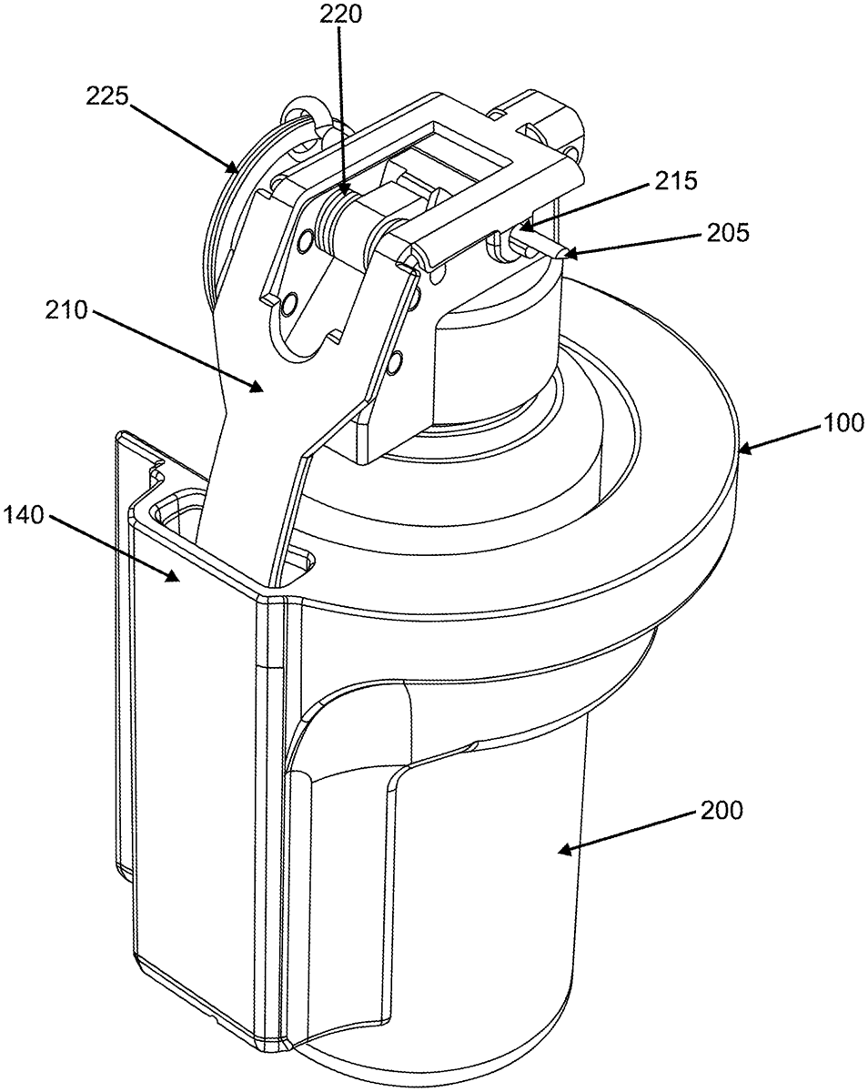
The grenade pouch adapter is designed to securely hold a grenade in a specific orientation, ensuring that the safety pin ring faces the wearer’s body. Its curved body features a spoon slot that accommodates the grenade’s spoon, allowing for safe and efficient storage.
Claim 1
1 . An apparatus comprising: a grenade pouch adapter for receiving a grenade, the grenade comprising a spoon and a safety pin ring connected to a safety pin of the grenade, wherein the grenade pouch adapter comprises: a curved body comprising a planar surface, an inner surface, and an outer surface, wherein the inner surface extends perpendicularly from a first edge of the planar surface and defines an inner contour of the curved body, and wherein the outer surface extends perpendicularly from a second edge of the planar surface; and a spoon slot located at a first end of the curved body, wherein the spoon of the grenade is received into the spoon slot through a spoon aperture formed on the planar surface of the curved body, and wherein the spoon slot is configured to hold the spoon of the grenade in a single orientation such that the safety pin ring of the grenade is positioned facing towards wearer’s body. a grenade pouch adapter for receiving a grenade, the grenade comprising a spoon and a safety pin ring connected to a safety pin of the grenade, wherein the grenade pouch adapter comprises: a curved body comprising a planar surface, an inner surface, and an outer surface, wherein the inner surface extends perpendicularly from a first edge of the planar surface and defines an inner contour of the curved body, and wherein the outer surface extends perpendicularly from a second edge of the planar surface; and a spoon slot located at a first end of the curved body, wherein the spoon of the grenade is received into the spoon slot through a spoon aperture formed on the planar surface of the curved body, and wherein the spoon slot is configured to hold the spoon of the grenade in a single orientation such that the safety pin ring of the grenade is positioned facing towards wearer’s body.
Google Patents
https://patents.google.com/patent/US12510339
USPTO PDF
https://image-ppubs.uspto.gov/dirsearch-public/print/downloadPdf/12510339