US12529543 - Generation and application of autonomously-created three-dimensional safety offset bounding surfaces from three-dimensional virtual maps around points of interest

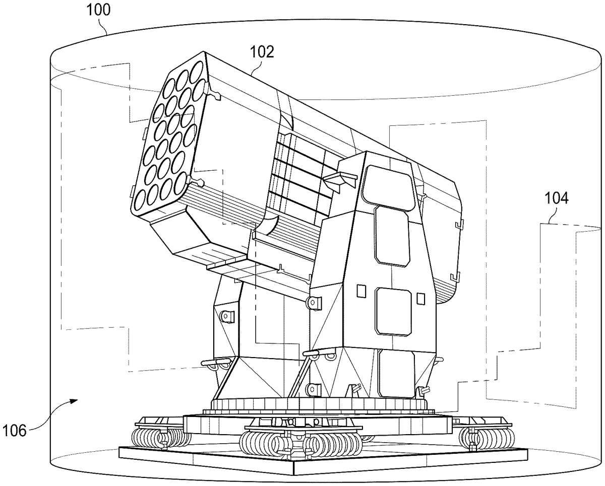
The patent describes an apparatus that creates three-dimensional safety bounding boxes around objects in a virtual map, accounting for projectile drift. This system enhances the safety of projectile launchers by providing a spatial awareness tool that integrates with onboard computers.
Claim 1
1 . An apparatus comprising: at least one memory configured to store map data; and at least one processor configured to: segment one or more objects from one or more environment surfaces in the map data; determine an offset based on a projectile drift of a projectile, wherein a direction for a safety vector of the offset for each object is based on a direction of a corner vector that extends from a point cloud associated with the object, wherein a magnitude of the safety vector of the offset for each object is based on a magnitude of the corner vector that extends from the point cloud associated with the object; generate a three-dimensional (3D) safety bounding box around each of the one or more objects using the offset; apply the 3D safety bounding box around each of the one or more objects to a 3D virtual map for a projectile launcher; and upload the 3D virtual map to an onboard computer of the projectile launcher. at least one memory configured to store map data; and at least one processor configured to: segment one or more objects from one or more environment surfaces in the map data; determine an offset based on a projectile drift of a projectile, wherein a direction for a safety vector of the offset for each object is based on a direction of a corner vector that extends from a point cloud associated with the object, wherein a magnitude of the safety vector of the offset for each object is based on a magnitude of the corner vector that extends from the point cloud associated with the object; generate a three-dimensional (3D) safety bounding box around each of the one or more objects using the offset; apply the 3D safety bounding box around each of the one or more objects to a 3D virtual map for a projectile launcher; and upload the 3D virtual map to an onboard computer of the projectile launcher. segment one or more objects from one or more environment surfaces in the map data; determine an offset based on a projectile drift of a projectile, wherein a direction for a safety vector of the offset for each object is based on a direction of a corner vector that extends from a point cloud associated with the object, wherein a magnitude of the safety vector of the offset for each object is based on a magnitude of the corner vector that extends from the point cloud associated with the object; generate a three-dimensional (3D) safety bounding box around each of the one or more objects using the offset; apply the 3D safety bounding box around each of the one or more objects to a 3D virtual map for a projectile launcher; and upload the 3D virtual map to an onboard computer of the projectile launcher.
Google Patents
https://patents.google.com/patent/US12529543
USPTO PDF
https://image-ppubs.uspto.gov/dirsearch-public/print/downloadPdf/12529543