US12529550 - Integrated detonator sensors

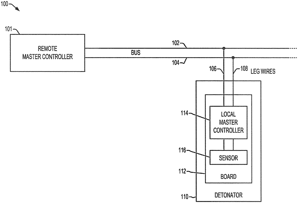
The patent describes a detonator that integrates a controller and a sensor to monitor environmental parameters such as temperature and pressure, allowing for remote communication with a master controller. This technology enables the controller to execute actions or modify detonator functions based on the measured parameters.
Claim 1
1 . A detonator, comprising: a substrate; a first terminal mounted to the substrate and configured to be coupled to a first leg wire; a second terminal mounted to the substrate and configured to be coupled to a second leg wire; a controller mounted to the substrate, the controller coupled to the first and second terminals; a sensor coupled to the controller and configured to make at least one reading of an environmental parameter; wherein the sensor is inside an enclosure of the detonator; and wherein the controller is configured to initiate environmental parameter readings and communicate such readings to a remote master controller. a substrate; a first terminal mounted to the substrate and configured to be coupled to a first leg wire; a second terminal mounted to the substrate and configured to be coupled to a second leg wire; a controller mounted to the substrate, the controller coupled to the first and second terminals; a sensor coupled to the controller and configured to make at least one reading of an environmental parameter; wherein the sensor is inside an enclosure of the detonator; and wherein the controller is configured to initiate environmental parameter readings and communicate such readings to a remote master controller.
Google Patents
https://patents.google.com/patent/US12529550
USPTO PDF
https://image-ppubs.uspto.gov/dirsearch-public/print/downloadPdf/12529550