US12535290 - Holster facilitating master grip

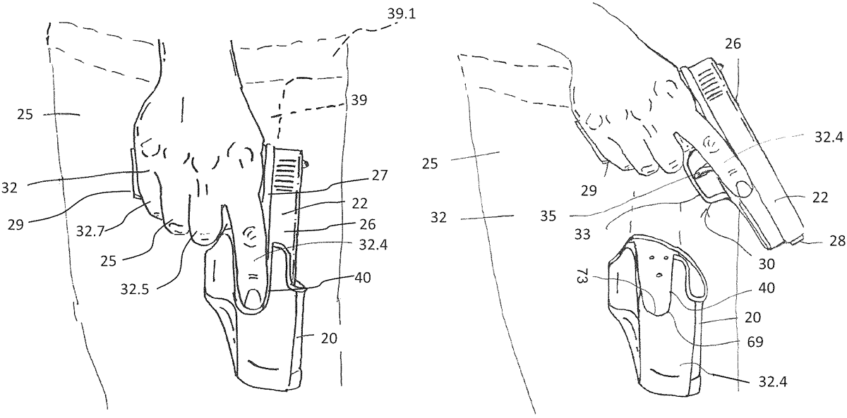
The patent describes a polymer holster designed to enable a user to achieve a master grip on a handgun before drawing it, featuring an index finger slot that allows for full extension of the index finger while preventing access to the trigger. Additionally, the holster includes a thumb-activated release mechanism positioned for ease of use.
Claim 1
1 . A holster for receiving a handgun, the holster comprising: a rigid polymer holster body defining a handgun receiving cavity, wherein when worn by a standing user, the holster body having a user adjacent proximal wall portion, an opposite distal wall portion, a forward wall portion extending between the proximal wall portion and the distal wall portion, and a rearward wall portion extending between the proximal wall portion and the distal wall portion, the holster body open upwardly for receiving and withdrawing of the handgun; wherein when the handgun is holstered, the distal wall portion defining an index finger slot contiguous with an upper opening of the handgun receiving cavity and extending downwardly with respect to the holster and along the body of the handgun forward of the trigger guard and trigger allowing the user’s index finger to fully extend and contact the side of the holstered handgun for the length of the user’s index finger, and wherein the distal wall portion extends over the trigger guard and trigger precluding the index finger from reaching or engaging the trigger of the holstered handgun. a rigid polymer holster body defining a handgun receiving cavity, wherein when worn by a standing user, the holster body having a user adjacent proximal wall portion, an opposite distal wall portion, a forward wall portion extending between the proximal wall portion and the distal wall portion, and a rearward wall portion extending between the proximal wall portion and the distal wall portion, the holster body open upwardly for receiving and withdrawing of the handgun; wherein when the handgun is holstered, the distal wall portion defining an index finger slot contiguous with an upper opening of the handgun receiving cavity and extending downwardly with respect to the holster and along the body of the handgun forward of the trigger guard and trigger allowing the user’s index finger to fully extend and contact the side of the holstered handgun for the length of the user’s index finger, and wherein the distal wall portion extends over the trigger guard and trigger precluding the index finger from reaching or engaging the trigger of the holstered handgun.
Google Patents
https://patents.google.com/patent/US12535290
USPTO PDF
https://image-ppubs.uspto.gov/dirsearch-public/print/downloadPdf/12535290