US12535294 - Printing prevention systems

The patent describes a printing prevention system designed to enhance the concealment of a firearm in a holster by utilizing a contact pad connected to a concealment wing. This system allows for adjustable positioning of the contact pad to ensure it maintains contact with the user’s waistband, thereby drawing the firearm grip closer to the body for improved concealment.
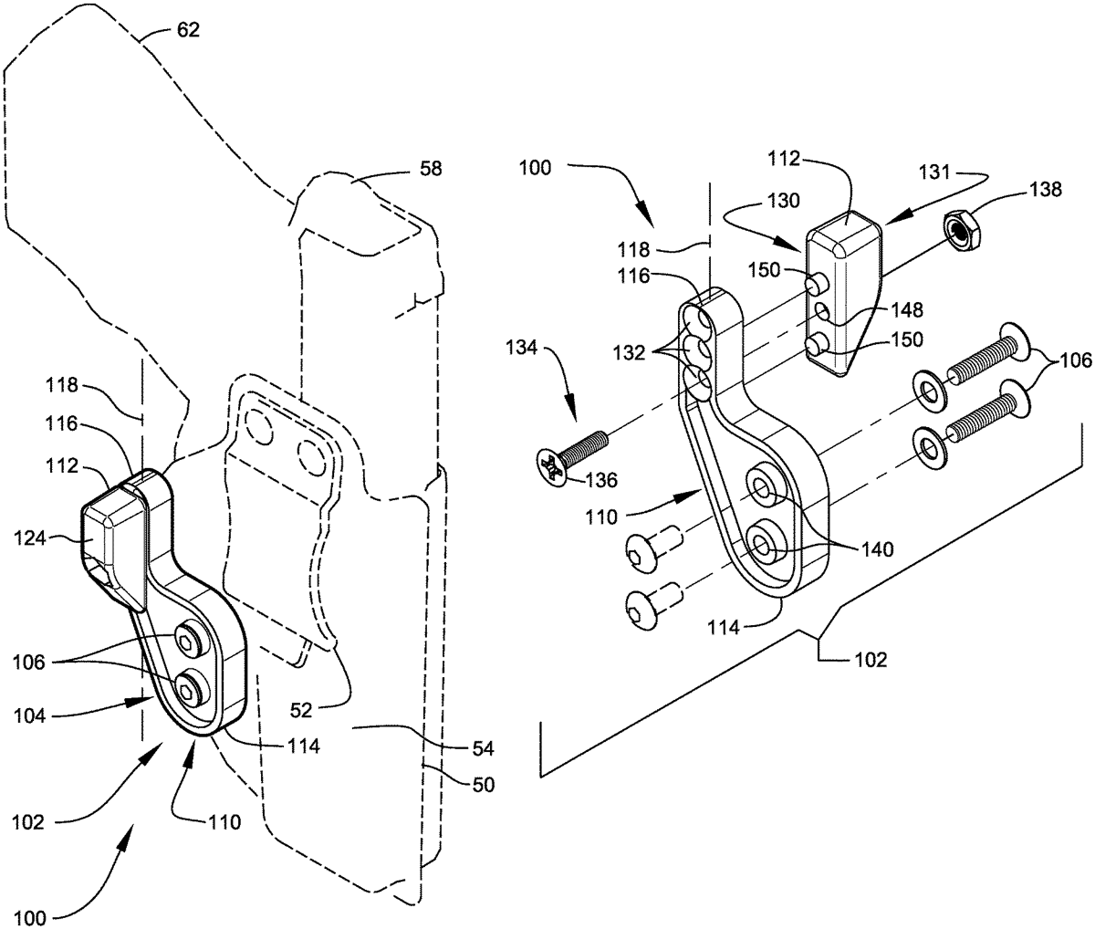
Claim 1
1 . An apparatus for use with a firearm holster, such firearm holster arranged to hold a firearm in an accessibly concealed position within a user’s waistband, the apparatus comprising: a contact pad; a concealment wing comprising a body member having a first end configured to attach to the firearm holster, a second end having a plurality of linearly arranged apertures, and a longitudinal axis passing through said second end, said longitudinal axis being offset from said first end; said contact pad comprising a concealment wing engaging rear end and an opposing front end; said concealment wing engaging rear end comprising a flat rear mounting surface, a pair of proiecting posts extending outwardly from said flat rear mounting surface, and a passage opening positioned between said pair of projecting posts and extending through to a corresponding opening on said opposing front end, said pair of projecting posts configured to selectively engage with at least one of said plurality of linearly arranged apertures on said second end of said concealment wing to enable multiple distinct user-selected mounting positions of said contact pad on said concealment wing; said opposing front end comprising a waistband contact surface oriented generally parallel to said longitudinal axis, said waistband contact surface structured and arranged to contact and press against an inside portion of the user’s waistband when the firearm holster is in such accessibly concealed position, a ramp surface oriented at an angle relative to said longitudinal axis, said ramp surface structured and arranged to assist mechanically-leveraged movement of said waistband contact surface into contact with such inside portion of the user’s waistband during placement of the firearm in the accessibly concealed position, and said waistband contact surface of said contact pad leverages pressure from the user’s waistband to press a grip portion of the firearm, held in the firearm holster, closer to the user, thereby aiding in concealment of the firearm. a contact pad; a concealment wing comprising a body member having a first end configured to attach to the firearm holster, a second end having a plurality of linearly arranged apertures, and a longitudinal axis passing through said second end, said longitudinal axis being offset from said first end; said contact pad comprising a concealment wing engaging rear end and an opposing front end; said concealment wing engaging rear end comprising a flat rear mounting surface, a pair of proiecting posts extending outwardly from said flat rear mounting surface, and a passage opening positioned between said pair of projecting posts and extending through to a corresponding opening on said opposing front end, said pair of projecting posts configured to selectively engage with at least one of said plurality of linearly arranged apertures on said second end of said concealment wing to enable multiple distinct user-selected mounting positions of said contact pad on said concealment wing; said opposing front end comprising a waistband contact surface oriented generally parallel to said longitudinal axis, said waistband contact surface structured and arranged to contact and press against an inside portion of the user’s waistband when the firearm holster is in such accessibly concealed position, a ramp surface oriented at an angle relative to said longitudinal axis, said ramp surface structured and arranged to assist mechanically-leveraged movement of said waistband contact surface into contact with such inside portion of the user’s waistband during placement of the firearm in the accessibly concealed position, and said waistband contact surface of said contact pad leverages pressure from the user’s waistband to press a grip portion of the firearm, held in the firearm holster, closer to the user, thereby aiding in concealment of the firearm. a concealment wing engaging rear end and an opposing front end; said concealment wing engaging rear end comprising a flat rear mounting surface, a pair of proiecting posts extending outwardly from said flat rear mounting surface, and a passage opening positioned between said pair of projecting posts and extending through to a corresponding opening on said opposing front end, said pair of projecting posts configured to selectively engage with at least one of said plurality of linearly arranged apertures on said second end of said concealment wing to enable multiple distinct user-selected mounting positions of said contact pad on said concealment wing; said opposing front end comprising a waistband contact surface oriented generally parallel to said longitudinal axis, said waistband contact surface structured and arranged to contact and press against an inside portion of the user’s waistband when the firearm holster is in such accessibly concealed position, a ramp surface oriented at an angle relative to said longitudinal axis, said ramp surface structured and arranged to assist mechanically-leveraged movement of said waistband contact surface into contact with such inside portion of the user’s waistband during placement of the firearm in the accessibly concealed position, and said waistband contact surface of said contact pad leverages pressure from the user’s waistband to press a grip portion of the firearm, held in the firearm holster, closer to the user, thereby aiding in concealment of the firearm. a waistband contact surface oriented generally parallel to said longitudinal axis, said waistband contact surface structured and arranged to contact and press against an inside portion of the user’s waistband when the firearm holster is in such accessibly concealed position, a ramp surface oriented at an angle relative to said longitudinal axis, said ramp surface structured and arranged to assist mechanically-leveraged movement of said waistband contact surface into contact with such inside portion of the user’s waistband during placement of the firearm in the accessibly concealed position, and said waistband contact surface of said contact pad leverages pressure from the user’s waistband to press a grip portion of the firearm, held in the firearm holster, closer to the user, thereby aiding in concealment of the firearm.
Google Patents
https://patents.google.com/patent/US12535294
USPTO PDF
https://image-ppubs.uspto.gov/dirsearch-public/print/downloadPdf/12535294