US12535304 - Multiple shaped charge jet (SCJ) warhead

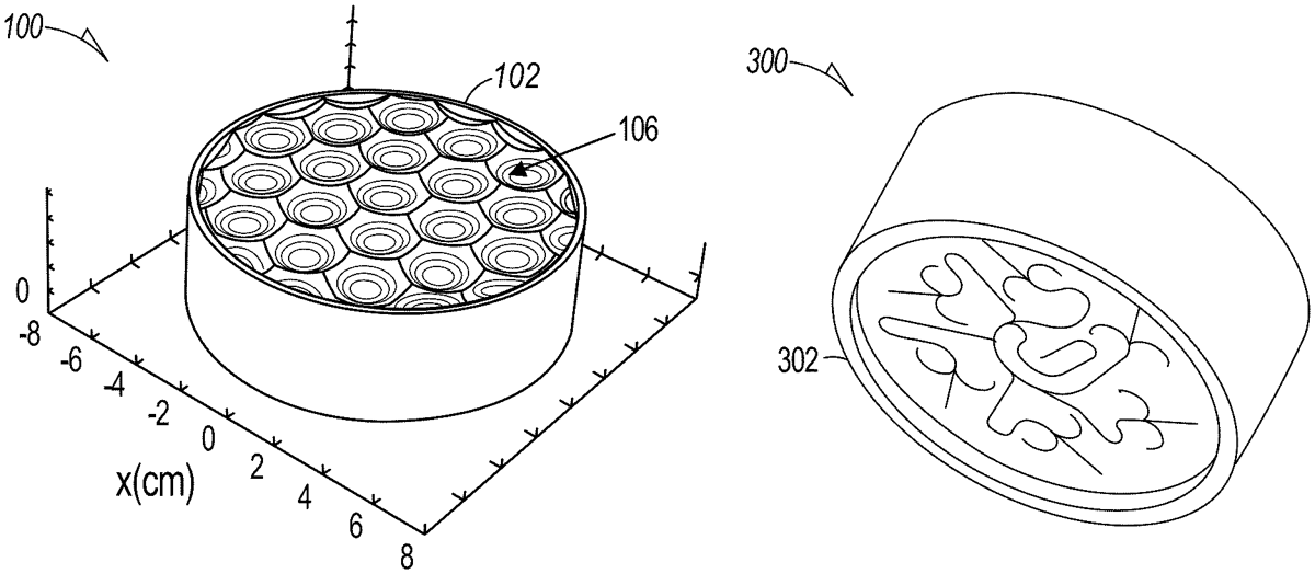
The patent describes a multiple shaped charge jet (MSCJ) warhead that utilizes a controlled detonation of a main charge to create elevated pressure at various locations on the liner’s back surface, resulting in the formation and propulsion of multiple shaped charge jets (SCJs). The warhead features an initiation system for multi-point initiation of booster charges, which generates constructive interference of detonation waves to enhance the cutting of the liner.
Claim 1
1 . A warhead having a height H 1 along an axis and a diameter D 1 , comprising: a main charge; a liner on a top surface of the main charge; a plurality of booster charges spaced apart on a bottom surface of the main charge; and an initiation system configured for multi-point initiation of the plurality of booster charges to detonate the main charge to produce a plurality of detonation waves; wherein the liner is positioned within a defined range from the plurality of booster charges equal to a height H 2 of the main charge along the axis in which 0.3<=H 1 /D 1 <=0.6 such that pairs of directly adjacent detonation waves constructively interfere to form elevated pressures at multiple locations on the back surface of the liner to cut the liner and to form and propel forward a plurality of shaped charge jets (SCJs). a main charge; a liner on a top surface of the main charge; a plurality of booster charges spaced apart on a bottom surface of the main charge; and an initiation system configured for multi-point initiation of the plurality of booster charges to detonate the main charge to produce a plurality of detonation waves; wherein the liner is positioned within a defined range from the plurality of booster charges equal to a height H 2 of the main charge along the axis in which 0.3<=H 1 /D 1 <=0.6 such that pairs of directly adjacent detonation waves constructively interfere to form elevated pressures at multiple locations on the back surface of the liner to cut the liner and to form and propel forward a plurality of shaped charge jets (SCJs).
Google Patents
https://patents.google.com/patent/US12535304
USPTO PDF
https://image-ppubs.uspto.gov/dirsearch-public/print/downloadPdf/12535304