US12540789 - Firearm receiver cover and closure assembly

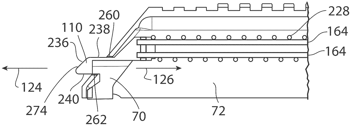
The patent describes a firearm receiver cover and closure assembly that allows for easy movement between open and closed positions while ensuring precise vertical and lateral alignment without the need for adjustments. It features a latch mechanism with a tapered pushbutton that securely engages with an opening in the cover, providing a stable connection to the underlying firearm receiver.
Claim 1
1 . A firearm cover assembly comprising: a cover defined by an elongate body that is shaped to overlie at least a portion of a receiver of an underlying firearm, the elongate body having a rearward facing end portion and a forward facing end portion that is generally opposite the rearward facing end portion, the forward facing end portion being constructed to pivotably connect the elongate body of the cover to the underlying firearm; a latch slideably disposed between the elongate body and the receiver and being slideable along an axis generally aligned with an elongate axis of the cover and such that the latch is positioned proximate the rearward facing end portion of the elongate body of the cover; a pushbutton defined by the latch and that is tapered in a vertical direction and opposing sidewalls that are tapered toward one another in a longitudinal direction along the pushbutton; and an opening formed in the rearward facing end portion of the cover, the opening constructed to slideably cooperate with the pushbutton of the latch so that the cover and the pushbutton directly contact one another along the opposing sidewalls and engagement between the pushbutton of the latch and a surface of the cover that defines the opening of the cover defines a fixed vertical position and a lateral position of the cover relative to the receiver when the cover is engaged with the latch. a cover defined by an elongate body that is shaped to overlie at least a portion of a receiver of an underlying firearm, the elongate body having a rearward facing end portion and a forward facing end portion that is generally opposite the rearward facing end portion, the forward facing end portion being constructed to pivotably connect the elongate body of the cover to the underlying firearm; a latch slideably disposed between the elongate body and the receiver and being slideable along an axis generally aligned with an elongate axis of the cover and such that the latch is positioned proximate the rearward facing end portion of the elongate body of the cover; a pushbutton defined by the latch and that is tapered in a vertical direction and opposing sidewalls that are tapered toward one another in a longitudinal direction along the pushbutton; and an opening formed in the rearward facing end portion of the cover, the opening constructed to slideably cooperate with the pushbutton of the latch so that the cover and the pushbutton directly contact one another along the opposing sidewalls and engagement between the pushbutton of the latch and a surface of the cover that defines the opening of the cover defines a fixed vertical position and a lateral position of the cover relative to the receiver when the cover is engaged with the latch.
Google Patents
https://patents.google.com/patent/US12540789
USPTO PDF
https://image-ppubs.uspto.gov/dirsearch-public/print/downloadPdf/12540789