Action

Patents tagged Action

Feb 24, 2026

US12560392 - Action system for firearm

An action system for reducing recoil and muzzle rise in firearms is provided. The action system includes an outer housing having an internal cavity, a buffer tube in operable communication with a bolt carrier group of a firearm, and a slidable buffer within the buffer tube. A lever arm, pivotally secured within the outer housing, is operably connected to the buffer and moves radially under the buffer's force. A spring in the cavity engages with the lever arm, compressing as the lever arm is acted upon by the linear force produced by a bolt carrier group until the spring force exceeds the linear force, thus forcing the buffer in a direction opposite the direction of the linear force.

Oct 14, 2025

US12442603 - Lever action firearms having gear assemblies and linkage assemblies for connecting its action lever to its bolt carrier assembly and associated methods

Lever action firearms having a linkage assembly for pivotally connecting its action lever to its bolt carrier assembly and associated methods are disclosed. The lever action firearm includes a bolt carrier assembly received in an upper frame and operable to reciprocate between an open position and a closed position. The bolt carrier assembly includes a first pivot. A lower frame defines a magazine well configured to removably receive a box magazine. The lever action firearm includes an action lever movable between a retracted position and an extended position. The action lever includes second and third pivots. The action lever is pivotally connected to the lower frame at the second pivot. The lever action firearm also includes a linkage assembly is pivotally connected to the action lever at the third pivot, wherein the linkage assembly is pivotally connected to the bolt carrier assembly at the first pivot.

Jul 22, 2025

US12366425 - Muzzle-mounted devices

An assembly directing gas to an action of a firearm has a barrel with a bore and a forward sealing surface. A gas block has a bore, a port for directing gases from the block bore through the block port, a rearward sealing surface for sealingly mating with the forward sealing surface of the barrel, and a forward sealing surface. A component has a bore and is attached to a forward end of the barrel, the component bore being in fluid communication with the barrel bore. At least one port communicates the component bore with the block port, the component having a rearward sealing surface for sealingly mating with the forward sealing surface of the gas block. A portion of the component rearward of the rearward sealing surface is received within the bore of the gas block. The barrel and component cooperate to sealingly retain the gas block therebetween.

Jul 8, 2025

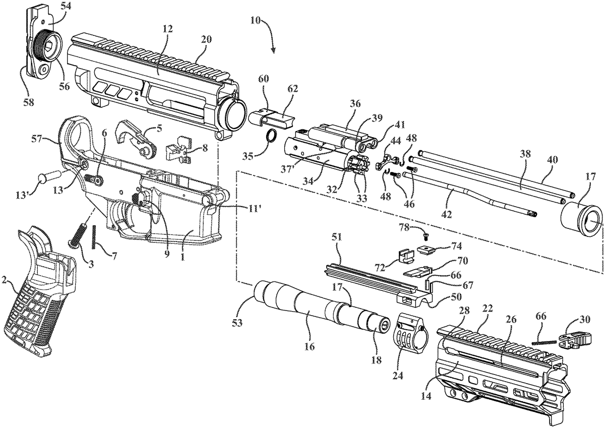
US12352515 - Compact action with forward charging handle incorporated into an upper receiver handguard

A compact action for a firearm including an upper receiver housing incorporating a barrel. A bolt and carrier are positioned within the receiver housing so that the bolt is engaged to a rear receiver end of the barrel in a cartridge chambering position. Guide rods are supported within the housing above the barrel and extend in parallel to a rear located end plate. The carrier includes a carrier key supported by and displaceable along the guide rods between the barrel and a rearward bumper component. A gas tube extends from a forward located gas block overlaying a gas discharge aperture in the barrel to a gas key for actuating the carrier rearwardly following discharge of a ballistic from the barrel. A fixed ejector is attached to the upper receiver, in combination with machining a slot into the carrier and the bolt, such that the ejector remains static such that, upon the bolt cycling, the spent shell casing contacts the ejector, causing it to be ejected out of the upper receiver.

May 20, 2025

US12305949 - Firearm assemblies with multiple gas ports

An assembly for directing propellant gas to an action of a firearm includes a barrel and a gas block. The barrel has a plurality of gas ports that communicate with the bore of the barrel. The barrel and the gas block define a passage that receives pressurized propellant gas from the bore by way of the barrel gas ports, and directs the propellant gas to a gas port of the gas block. The plurality of barrel gas ports and the passage act as a manifold in which the propellant gas is taken from multiple locations within the barrel, combined into a single flow, and directed into the gas block via the gas block gas port. The pressurized gas is then routed to an action of the firearm by way of a gas tube and a gas key.