Additive_manufacturing

Patents tagged Additive_manufacturing

Sep 9, 2025

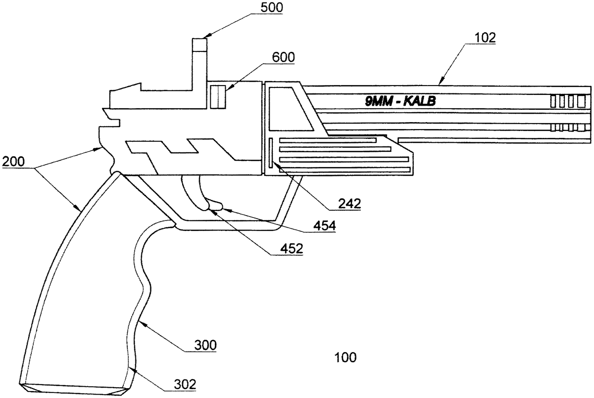
US12410981 - Additive manufacturing enhanced sidearm

An additive manufactured enhanced sidearm comprising an ejectable barrel group assembly having two barrels, each with a chamber, in an under and over configuration thereby forming a top and bottom, and preloaded with keyed rounds having a series wherein each of said projectiles is keyed via a keyway in a chamber in said barrel, each of said projectiles in said barrel group are keyed having 0 to 4 keyways formed in the side of the projectile said projectiles having a propellant and primer means disposed behind said projectile in said chamber, a series of electrical contacts disposed within said chambers in communication with said primer means, a rail disposed at the bottom of the barrels with a locking notch means, a battery disposed with said ejectable barrel group, a grip assembly in communication with said ejectable barrel group assembly said grip assembly comprising a hand grip, a pc board disposed within said hand grip, a trigger group disposed upon said pc board, a high voltage generator circuit disposed on said pc board, at least one recoil plate assembly disposed upon said pc board, at least one microprocessor disposed upon said pc board, and a removable safety block that interferes with the batter to pc board connection.