Aid

Patents tagged Aid

Apr 15, 2025

US12276471 - Direct fire weapon system training and firing aid

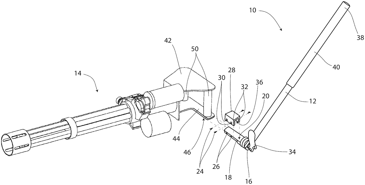
A weapon system training and firing aid comprising a shoulder bar attachment for elevating and/or traversing a weapon system is disclosed. It may have an elongate arm for attachment to the weapon system and extending in a generally rearward direction from the weapon system. Once coupled to a weapon system, it gives a user a stable method of supporting and moving the weapon system, allowing the user to quickly elevate and traverse the weapon system by giving the user an additional point of contact, for example at the shoulder or under the arm, to support and stabilize the weapon system.