Airgun

Patents tagged Airgun

May 5, 2026

US12618634 - Muzzle flash simulator and method for generating light trail

Disclosed are a muzzle flame simulator and a method for generating a light trail. The muzzle flame simulator includes a projectile passage, a projectile sensor, a controller, and at least one simulating flame light source. The projectile passage is disposed inside the muzzle flame simulator. The projectile sensor is coupled to the controller and configured to send a trigger signal to the controller in response to detecting a projectile passing through the projectile passage. The controller includes a signal generator circuit, which is configured to output at least two preset periodically changing control signals. The controller is configured to start the signal generator circuit in response to detecting the trigger signal. The at least one simulating flame light source is coupled to the controller, the simulating flame light source each at least includes two illuminating components that are configured to periodically emit light based on the control signals.

Mar 31, 2026

US12590780 - Air gun with onboard electric pump

The present disclosure provides an onboard electric pump assembly for an air gun. The onboard electric pump assembly includes: a high-speed DC motor powered by a battery; a controller that is operable by a user through a user interface, where the controller is configured to control the high-speed DC motor, and a mounting structure to mount the high-speed DC motor within the air gun an air gun.

Mar 17, 2026

US12578160 - High-pressure air magazine

A high-pressure air magazine with an outer housing, a high-pressure chamber formed within the outer housing, a fill valve disposed between the high-pressure chamber and a fill port, and an air regulator configured to selectively pass air from the high-pressure chamber to a low-pressure chamber within the outer housing. The air regulator has a regulator ball valve positioned between the high-pressure chamber and the low-pressure chamber. A spring biases the regulator ball valve to a closed position. A regulator valve screw is configured to adjust a magnitude of the bias on the regulator ball valve. A regulator piston in contact with the regulator ball valve is configured to push the regulator ball valve to an open position when pressure within the low-pressure chamber lowers past a predetermined pressure. A regulator piston support nut is configured to adjust the predetermined pressure.

Mar 10, 2026

US12571606 - Muzzle flash simulator and light track generation method

A muzzle flash simulator and a light track generation method are provided. The muzzle flash simulator includes: a projectile channel provided inside the muzzle flash simulator, and the projectile channel coaxial with a flight trajectory of a projectile; at least one projectile sensor connected to a controller and preset to transmit a trigger signal to the controller when detecting the projectile passes through the projectile channel; in which the controller is configured to output at least two control signals that periodically change according to the trigger signal; and at least one group of flash simulation light sources connected to the controller, in which the at least one group of flash simulation light sources includes at least two light-emitting elements having different colors, and the light-emitting elements are configured to periodically emit lights having different colors to the projectile according to the control signals to form a light track.

Feb 17, 2026

US12553684 - Non-lethal gas operated gun

A pre-pack assembly for use with an air gun and for use with a magazine that is removably insertable into the air gun, the pre-pack assembly includes a pre-pack that contains a gas canister, wherein inserting the pre-pack into the chamber of the magazine fluidly connects the gas canister with the magazine.

Feb 10, 2026

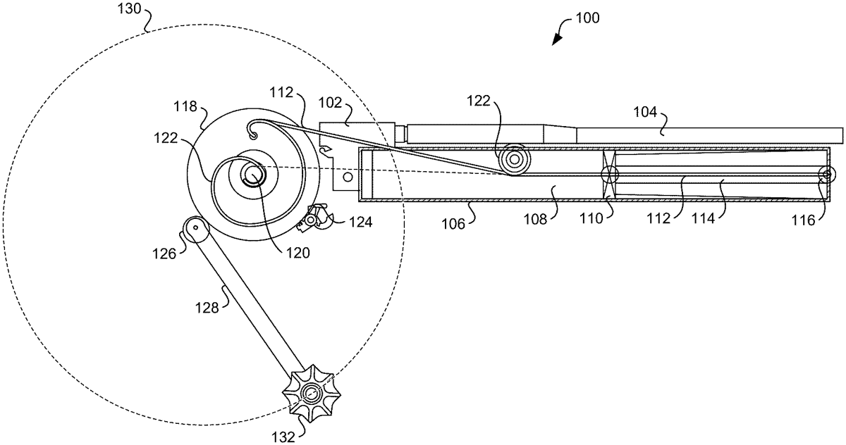
US12546559 - Crank-operated airgun with cable and cam system

An airgun pressure system as described herein includes a pressure chamber comprising a cylinder extending along a length of an axis of the airgun parallel with an axis of a barrel of the airgun. The airgun also includes a piston disposed within the pressure chamber and translatable along a length of the cylinder to pressurize gas in the pressure chamber in response to an increase in force applied to the piston. The airgun also includes a rotating drum connected to a frame of the airgun, a cable operably connected to the piston and the rotating drum, and a crank handle operably connected to the rotating drum and configured to cause rotation of the rotating drum to increase tension on the cable and force on the piston to compress the gas in the pressure chamber.

Feb 10, 2026

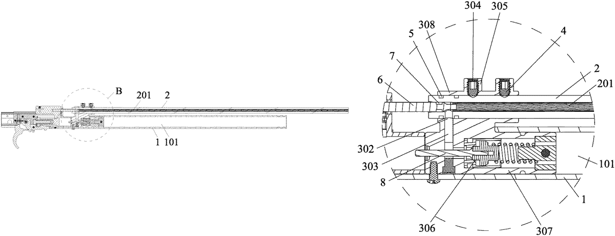
US12546560 - Air gun

An air gun including: a cylinder, a cartridge, an air valve, a stop piece. The air valve includes an assembly channel, a communication port, and an air passage connected to the assembly channel through the communication port. The cartridge is disposed in the assembly channel and includes an ejection channel communicating with the air passage through the communication port. The stop piece is disposed on the air valve to push the cartridge towards the communication port, thereby locking the cartridge onto the air valve, and tightly fitting the cartridge and the air valve at least at an outer circumference of the communication port.