Ammunition

Patents tagged Ammunition

May 19, 2026

US12631092 - Kinetic energy perforating round and methods of use

Perforation devices including gas supply structures and methods of utilizing the same. The perforation devices include a magazine, a barrel, an action, and the gas supply structure. The magazine is configured to contain a plurality of cartridges. The barrel extends between a breech, which is configured to receive a selected cartridge of the plurality of cartridges that includes a selected projectile, and a muzzle, which is configured, upon firing of the selected cartridge, to permit the selected projectile to exit the barrel at a muzzle velocity and with a muzzle trajectory. The action is configured to transfer the selected cartridge from the magazine to the breech of the barrel and to fire the selected cartridge. The gas supply structure is configured to provide a gas stream to the barrel and includes a surface gas source and a gas supply conduit extending between the surface gas source and the barrel.

May 19, 2026

US12631413 - Arrangement for feeding ammunition to a weapon

The present invention relates to an arrangement for feeding ammunition to a weapon mounted to an elevation device for elevation about an elevation axis, the arrangement comprising an ammunition feeding device arranged between an ammunition channel, from which ammunition is guided, and said weapon, said feeding device being rotatably arranged about a feeding axis, said feeding device having at least one ammunition grip member configured to rotate about said feeding axis between an ammunition collection location at said ammunition channel and an ammunition release location at said weapon, wherein said arrangement is configured such that said at least one ammunition grip member is configured to be rotatably adaptable relative to said feeding axis based on the elevation of said weapon so as to facilitate feeding the ammunition to the weapon in connection to the ammunition release location independent of elevation of said weapon.

May 19, 2026

US12631414 - Gun magazine including spring with uneven stack height upon compression

A gun magazine spring and magazine assembly having a novel design. The coils of the spring are configured to nest in certain regions and overlap in others. The result is that—as the spring nears its fully compressed state—the spring has an uneven stack height from left to right. The uneven stack height produces a predictable lateral displacement of the follower. The higher of the two stacked sides of the spring protrudes laterally outward through a lateral relief in the follower. This feature allows the spring and follower to overlap in the vertical direction to a greater extent than would be possible with conventional laterally-even spring nesting. The additional overlap produces additional internal space while also ensuring that the spring and follower assembly behave in a predictable manner.

May 12, 2026

US12624911 - Firearm receiver assembly with ammunition belt feeding capability and firearm comprising same

A firearm receiver assembly comprises a receiver body, a top cover, and an ammunition advancing mechanism mounted on the top cover. The top cover is pivotably attached at a mounting portion thereof to a mounting portion of a receiver body for enabling the top cover to be pivotable about a top cover pivot axis between an open position and a closed position with respect to the receiver body. The top cover pivot axis extends parallel to a bore axis of the receiver body.

May 12, 2026

US12624922 - LED emergent light adjusting mechanism and inner-red-dot aiming device therefor

An LED emergent light adjusting mechanism and an inner-red-dot aiming device therefor, wherein the LED emergent light adjusting mechanism comprises a vertical adjusting assembly and a horizontal adjusting assembly; the vertical adjusting assembly comprises an up-and-down adjusting sliding block, a vertical adjustment screw and two vertical adjustment spring sets arranged on two sides of the vertical adjustment screw; a nut member and a spring guiding and limiting column set are fixed at the bottom of a rear end of the up-and-down adjusting sliding block; the horizontal adjusting assembly comprises a left-and-right sliding block, a return spring, a vertical spring ejector pin assembly, a horizontal spring ejector pin assembly, a horizontal adjusting screw coupled with the other end of the left-and-right sliding block by means of a square nut, and an LED chip assembly arranged on a front end surface of the left-and-right sliding block.

May 12, 2026

US12624933 - High kinetic energy hollow bullet

The present invention relates to an innovative hollow bullet design, which fundamentally diverges from conventional solid bullet configurations. This design encompasses a brass casing, gun powder, a plastic wad, and a distinctively structured nozzled projectile. The nozzled projectile features a hollow portion that starts wider at the proximal end and narrows towards the distal end, ingeniously manipulating airflow to enhance kinetic energy during flight. This unique aerodynamic efficiency potentially increases impact force and stability over extended distances. The bullet maintains standard size and weight, ensuring compatibility with existing firearms, and offers significant improvements in performance for both civilian and military applications.

May 5, 2026

US12618632 - Off-axis serpentine flow chamber for firearm suppressors

A firearm sound suppressor can include an outer housing that defines a bore axis and an inner wall disposed at least partially within the outer housing. The inner wall can be oriented along the bore axis and includes a cylindrical central chamber. An annular chamber can be disposed between the outer housing and the inner wall. At least one helical partition can be disposed in the annular chamber to define at least one interleaved helical pathway through the annular chamber. Each interleaved helical pathway includes a first forward helical segment, a reverse helical segment sharing a first common wall with the first forward helical segment, and a second forward helical segment sharing a second common wall with the reverse helical segment. The first and second common walls can be distinct from one another.

May 5, 2026

US12618637 - Muzzle loader

A muzzle loading system includes a ramrod and a muzzle loader. The ramrod includes ramrod body having a ramrod proximal end and a ramrod distal end. The muzzle loader receives the ramrod proximal end, applies a loading pressure to the ramrod, and provides audible and/or haptic feedback in response to the applied loading pressure reaching a target loading pressure.

May 5, 2026

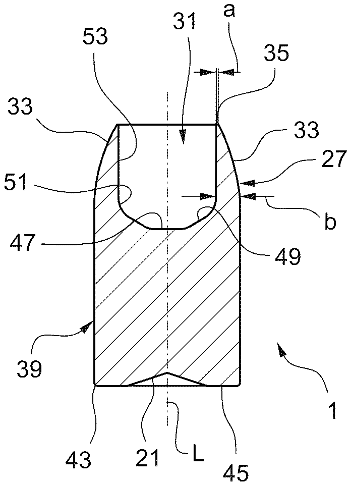
US12618651 - Short-range projectile

A projectile for short firing ranges includes as a cylinder with a nose having a substantially flat surface arranged with a threaded socket allowing for the arrangement of, for example, a fuze a rear section designed with a substantially flat surface, as well as a projectile body arranged with energetic material enclosed by a casing.

May 5, 2026

US12618653 - Magazine retention systems

Magazine retention systems including a pouch, an anchor, an elastic cord, and a tension adjuster. The pouch defines a pouch interior and is configured to receive an ammunition magazine. The pouch includes sidewalls and a floor. The sidewalls define a pouch opening through which the ammunition magazine may be selectively placed within the pouch interior. The floor is coupled to the sidewalls opposite the pouch opening and cooperates with the sidewalls to define the pouch interior. The anchor is coupled to the pouch. The elastic cord is secured to the anchor and extends around the sidewalls. The tension adjuster is mounted to the elastic cord. The tension adjuster maintains the elastic cord under a selected tension. The tension adjuster and the elastic cord cooperate to selectively compress the sidewalls to secure the ammunition magazine inside the pouch interior.

Apr 28, 2026

US12613072 - Fluid pressure dampener with structurally improved baffles

A suppressor has an outer shell with a bore defined along a central longitudinal axis of the shell and fluidically coupling an entrance port to an exit port. Baffles enclosed within the outer shell each have a central aperture circumvolving the bore and a deflecting channel radially offset from the bore and in fluid communication with the central aperture. Each deflecting channel is formed by opposing sidewalls formed in a baffle and extending to a diversion wall. First and second openings of a deflecting channel fluidically couple the channel with the bore and with the volume enclosed by the outer shell. Each deflecting channel deflects propellant gases in a direction perpendicular to axial flow through the bore.

Apr 21, 2026

US12607426 - Semi-automatic shotgun and components thereof

A semiautomatic shotgun comprising a receiver, a barrel, a forward gas block assembly attached to the barrel, a slider assembly rearward of the gas block assembly extending into the receiver. Upon firing a shotshell the explosive gases in the barrel are diverted through two ports into the gas block assembly, specifically into a pair of lateral pressure relief valves positioned on both sides of the barrel. The pressure relief valves further having a gas pathway from the barrel provided by clusters of holes less than a specific size and on-center with the barrel axis. A piston is forced rearwardly and engages a slider of the slider assembly that is linked to a breech block in the receiver. The breech block loads unfired shells and ejects the fired shells accomplishing the semiautomatic recycling. The dual pressure relief valves actuate to moderate and limit the gas pressure that enters the piston chamber when using shotshells of different power levels thereby providing consistency in the recycling operation. The shotgun assembled with a plurality of retention pins having uniformly sized O-rings.

Apr 21, 2026

US12607427 - Arrangement for feeding ammunition to a weapon

Disclosed is an arrangement for feeding ammunition to a weapon. The weapon is mounted to an elevation device arranged to allow elevation movement of the weapon about an elevation axis. The arrangement includes a feeding chute connected at one end to the weapon. The feeding chute includes a set of elements assembled together in a stacked configuration. The set of elements is arranged about a shaft configured to be concentrically arranged relative to the elevation axis so as to allow movement of individual elements of the set of elements about the shaft in connection to elevation movement of the weapon about the elevation axis. The invention also relates to a vehicle with an arrangement according to the present invention.

Apr 21, 2026

US12607438 - Projectile and firearm system

A cartridge is disclosed with a casing and a projectile, wherein external ballistic stability is provided by a center of pressure of the projectile being rearward of a center of mass of the projectile. The projectile includes flight control surfaces that cooperate with the bore of a barrel without requiring rifling or sabots. The projectile can include fin configurations that cooperate with the bore to form a bearing surface with the bore.

Apr 14, 2026

US12601554 - Firearm loader

A firearm loader includes a body defining a cavity with a first open end and a slot communicating with the cavity and an interface arm extending from the body. A method includes positioning a firearm loader on a firearm, the firearm loader comprising a body defining a cavity with a first open end and a slot communicating with the cavity and an interface arm extending from the body and transferring cartridges positioned in the cavity through a magazine opening of the firearm by engaging the cartridges through the slot and pushing the cartridges through the first open end. Positioning the firearm loader on the firearm comprises positioning the interface arm on a trigger guard of the firearm to align the first open end with the magazine opening.

Apr 14, 2026

US12601556 - Firearm suppressor

A firearm suppressor including a first baffle segment with a cylindrical outer wall and a conical baffle core that defines a central opening, where a longitudinal length of the cylindrical outer wall is longer than a longitudinal length of the conical baffle core; and a second baffle segment comprising a cylindrical outer wall and a conical baffle core that defines a central opening, where a longitudinal length of the cylindrical outer wall is less than a longitudinal length of the conical baffle core.

Apr 14, 2026

US12601573 - Method and tool for producing a base piece of a multi-part cartridge case, base piece and cartridge case

A method for producing a base piece for receiving a primer for a multi-part cartridge case may include producing (e.g., by deforming) an extraction groove for engagement by a firearm ejector. The production of the extraction groove may be before a receptacle for a case jacket of the multi-part cartridge case for receiving a projectile is produced, such as by deforming. A tool arrangement for producing a base piece may be used to produce the base piece.

Apr 14, 2026

US12601576 - Sinter bonded projectile

The invention of the present subject matter relates to a sinter bonded projectile comprising a core component and a copper component which has been sintered in such a manner to form a solid mass over the core. More particularly, the invention of the present subject matter provides a core component to which a copper component is melted at a temperature sufficient that it penetrates into the pores and geometry of the core component under compression due to thermal shrinkage, resulting in a tightly bonded solid mass containing no voids. The invention of the present subject matter also provides a process for manufacturing the projectile.

Apr 14, 2026

US12601578 - Ammunition magazine loader

A system and method for coding firearm-related components to reduce the risk of loading incorrect ammunition into firearms is disclosed. The system includes a plurality of firearm-related components, each associated with a specific caliber of ammunition and marked with a unique identifier. The unique identifier for each caliber may include at least one of a color, a letter, or a shape. Firearm-related components may include storage units, master storage units, ammunition rounds, magazines, holsters, straps, and firearms. The method involves marking these components with unique identifiers and can also incorporate sub-coding for differentiating multiple firearms of the same caliber using additional markings such as stripes or dots in secondary colors. Unique identifiers are applied using methods such as adhesive labels, colored tape, paint, ink dyes, or anodization.

Apr 14, 2026

USRE050863 - Rifle cartridge with improved bullet upset and separation

A rifle cartridge with a bullet has desirable penetration capabilities and controlled separation of components upon terminal impact. In embodiments of the invention, the bullet comprises a forward component, a lead core, and a copper jacket. The lead jacket having a leading edge portion that extends to the cylindrical mid portion. The forward component may have a forward pointed ogive portion, a cylindrical mid portion, a mid ogive portion, and a pair of cylindrical portions separated by an annular groove. The jacket having a cannelure at the annular groove and the casing upper lip crimped into the cannelure.

Mar 31, 2026

US12590771 - Large-caliber gun having a breech assembly with multiple chambers

A large-calibre firearm including a breech assembly including a breech block rigidly connected to a firearm barrel, a breech support movable in axial translation relative to the breech block and coupled to a breech head, the assembly further includes a plurality of loading chambers, a mechanism for moving the chambers, configured to support the chambers and successively place one of the chambers in a firing position, and at least one other chamber in a supply position, in which the at least one chamber is able to receive ammunition via its rear end, and a locking mechanism configured to move the breech head and the chamber placed in the firing position between an unlocked position and a locked position, in which the chamber is closed off at its rear end by the breech head and opens out at its front end into the firearm barrel.

Mar 31, 2026

US12590781 - Preloaded disposable cylinder system for revolver

A preloaded disposable cylinder system for revolvers comprising a disposable cylindrical body, which is preferably 3D printed with chambers preloaded with propellant, primer, and projectile components without cartridge cases. The system includes boss pads and tapered cylinder end guideways for precise alignment, a spring-loaded center pin mechanism for secure retention, and eliminates traditional crane mechanisms and extractors. The design provides faster reload times than conventional revolvers, stronger dual-end cylinder lock-up, enhanced accuracy through improved alignment, and reduced manufacturing complexity. Compatible with existing revolver designs through minor frame modifications.

Mar 31, 2026

US12590787 - Modular system for ammunition processing, storage, and transportation

A modular ammunition storage system comprising an insert block and a plurality of cartridge pockets formed into the insert block, such that a distal end of each cartridge pocket may be closed above the bottom surface of the insert block and a proximal end of each cartridge pocket is open at the top surface of the insert block, wherein each cartridge pocket is configured to receive and removably secure a cartridge having a particular shape and caliber. The insert block is receivable and removably securable by an ammunition box insert that surrounds the perimeter of the insert block, the ammunition box insert itself surrounding the interior perimeter of the carrying case into which the insert block and ammunition box insert are received. Different insert blocks configured to hold different caliber ammunition may be provided, and interchanged with one another in the carrying case.

Mar 31, 2026

US12591786 - Intelligent ammunition co-evolution task assignment method

An intelligent ammunition co-evolution task assignment method is disclosed. The method includes the following steps. A chromosome gene encoding of genetic algorithm for ammunition assignment scheme of multi-platform interception operation is performed. A fitness of chromosome individual function in a genetic population is calculated according to a threat degree of an intercepting target in the ammunition assignment scheme and an interception probability of the intercepting target by different ammunition launching platforms. A probability ranking sequence of effective interception of the intercepting target by different ammunition launching platforms is obtained, and a genetic algorithm selection operation is performed on the chromosome individuals according to probability values of effective interception in descending order of priority. Crossover and/or mutation are performed on the selected chromosome individuals to obtain a next generation genetic population and the above steps are repeated until termination conditions are met to obtain the final ammunition assignment scheme.

Mar 24, 2026

US12584384 - Perforating gun tube and perforating gun

The present invention relates to a perforating gun tube, characterized in that the tube is made of a steel alloy comprising, in addition to iron, the following alloying elements, expressed in mass percent: C 0.12-0.22% Si 0.3-1.0% Mn 1.0-4% Cr 0.5-2% Mo 0.1-1%, V 0.05-0.2% Ti 0.02-0.1% and B 0.001-0.01% and impurities due to melting, and that the tube has a yield strength, R P0,2 , in the range of 750 to 1100 MPa. In addition, a perforating gun having such a perforating gun tube is described.

Mar 24, 2026

US12584618 - Flashlight grip

Disclosed embodiments may include devices and methods for a flashlight grip. The flashlight grip may include a handle with a mount configured to hold a flashlight. The mount may include a first mounting portion coupled to the handle and a second mounting portion coupled to the handle. The second mounting portion may be positioned opposite the first mounting portion. The first mounting portion and the second mounting portion may form a cavity. The flashlight grip may further include one or more connectors extending through the first mounting portion and the second mounting portion that may be used to tighten the first mounting portion and second mounting portion, thereby securing a flashlight in between the first mounting portion and the second mounting portion.

Mar 24, 2026

US12584704 - Ammunition feed belt linkage bracket

A guidance tab is provided for separating a cartridge round at its base from an aft linkage bracket within an ammunition chain. The tab includes a plate, a pair of legs and a pair of feet, and is composed of polyamide-imide. The plate has an obverse surface for engaging the base of the cartridge round and a reverse surface for engaging the aft linkage bracket. The plate is oriented along a longitudinal direction of the ammunition train and a lateral direction orthogonal to an axial direction of the cartridge round. The pair of legs extends from flanking sides of the plate in the axial direction towards the aft linkage bracket. The pair of feet extend substantially parallel to the plate. Each foot extends from a respective leg of the pair of legs.

Mar 24, 2026

US12584719 - End cap

The invention relates to a method of improved ammunition production, particularly to a metal matrix composite (MMC) end cap, suitable for forming a cartridge case, said end cap comprising an admixture of a metal powder, a binder matrix material, wherein said admixture has been caused to solidify in the shape of said end cap.

Mar 17, 2026

US12578157 - Ammunition magazine

The present disclosure provides ammunition magazines for bottom-loading a 5.7×28 mm ammunition round or a 4.6×30 mm ammunition round into a standard AR-15 or M16 upper receiver.

Mar 10, 2026

US12571619 - Ammunition press and components thereof

An ammunition press for manufacturing or reloading ammunition cartridges. The ammunition press includes an adjustable shell holder for holding ammunition shells (sometimes called cases) of various sizes. A catch tray is provided for collecting spent primers or other debris. According to a user's preference, the ammunition press can be customized to provide an over-center actuated configuration or a non-over-center actuated configuration. A light is integrated with the press for illuminating the shell holder. Components of the press and associated methods are also disclosed.

Mar 10, 2026

US12571620 - Ammunition press and components thereof

An ammunition press for manufacturing or reloading ammunition cartridges. The ammunition press includes a slide bearing about which the ram of the ammunition press moves to provide smooth operation of the ammunition press. A configurable spent primer system is provided to enable a user to select how they want to collect spent primers or other debris from the ammunition press. According to a user's preference, the ammunition press can also be customized to provide a cam-over or non-cam-over sensation as the user operates the ammunition press. A light is integrated with the ammunition press for illuminating a shell holder that holds the ammunition shells (sometimes called cases). Components of the ammunition press and associated methods are also disclosed.

Mar 3, 2026

US12566054 - Maneuvering aeromechanically stable sabot system

An aeromechanically stable sabot system that includes a center of gravity that is placed forward of an aerodynamic center of the aeromechanically stable sabot system when in steady-state flight. By placing the center of gravity forwards of the aerodynamic center, the sabot system exhibits positive longitudinal and directional stability. To illustrate, the sabot system and/or portions thereof will return to stable flight after being disturbed in pitch (vertically or about a transverse horizontal axis) or yaw (side to side or about a vertical axis) when traveling horizontally.

Feb 10, 2026

US12546546 - Break-barrel firearm with improved manageability

The present invention concerns a firearm comprising at least one frame and a barrel group comprising at least one barrel, the barrel group being mounted in a sliding manner with respect to the frame, wherein the frame houses at least one trigger device configured to trigger the firing of an ammunition, a safety device configured to act on the trigger device so as to selectively disengage it, and a closing device configured to act between the frame and the barrel group so as to prevent the barrel group from tilting with respect to the frame, and is characterized in that it comprises an actuation element configured to selectively activate the safety device and the closing device.

Feb 10, 2026

US12546576 - Simulated ammunition for firearms

A simulated round of ammunition is configured so that it can be inserted into an actual or simulated firearm just like a regular live round of ammunition. The simulated round of ammunition includes elements that enable the simulated round of ammunition to generate a haptic effect that mimics the forces one would feel when firing a regular round of live ammunition. The simulated round of ammunition can include a linear motor, a voice coil or some other similar device which can cause a movable member to move in response to application of electric power. Movements of the movable member are used to generate the haptic effect. In some instances, the movable member may be configured to impact a mechanical stop to help generate the haptic effect.

Feb 3, 2026

US12540805 - Reverse-saboted sidearm systems, and related sidearms, ammunition, and methods

A representative reverse-saboted sidearm system includes: a sidearm having a barrel assembly with an inner wall defining a longitudinally extending bore; and a round of reverse-saboted ammunition having a non-necked casing, a reverse sabot, and a projectile, the reverse sabot mounted at a discharge end of the casing with a distal end of the reverse sabot extending outwardly from the casing, the reverse sabot exhibiting a diameter corresponding to a diameter of the casing and defining a receiving passage aligned with a longitudinal centerline of the casing, the projectile being at least partially disposed within the receiving passage of the reverse sabot; the inner wall of the barrel assembly being configured to engage an exterior surface of the projectile to direct the projectile.

Feb 3, 2026

US12540806 - .45-70 shotshell and method for making

A .45-70 shotshell is made using a .45-70 shotshell base and a .410 shotshell hull. The hull is received and retained in the shotshell base. The shotshell base may be formed from a .45-70 rifle cartridge.

Jan 27, 2026

US12535306 - Polymer cartridge with snapfit metal insert

A high strength polymer-based cartridge has a polymer case with a mouth, a neck, a shoulder below the neck, and a body below the shoulder and having a case thickness (Tc). The body has a flat portion comprising a pull thickness (Tp), and a dip, closer to the shoulder than the flat portion and comprising a dip thickness (Tb). The cartridge can also include an insert attached to the polymer case opposite the shoulder. The insert can have a flat section contacting the flat portion and comprising an insert wall thickness (Ti), and a bulge engaging the dip to maintain the insert on the polymer case. Tc, Tp, Tb, and Ti are related by Tp+Tb+Ti=Tc. These variables also have ranges where Tp is at least 0.010 inches in thickness, Tb is greater than or equal to Tp, and Tc is a function of a loaded projectile.

Jan 27, 2026

US12535307 - Firearm barrel

A firearm barrel has an elongated body defining a bore and defining a bore axis, the body defining a breech end and an opposed muzzle end, a chamber defined in the breech end and contiguous with the bore; the bore having an interior surface having a plurality of alternating lands and grooves, the grooves being surfaces separated from the bore axis by first radius, the lands being surfaces separated from the bore axis by second radius less than the first radius and the lands and grooves being straight elements parallel to the bore axis, such that no spin is imparted to a projectile propelled down the bore. The lands and grooves may extend from the chamber to the muzzle end. The bore may have a constant cross-sectional profile along its length.

Jan 20, 2026

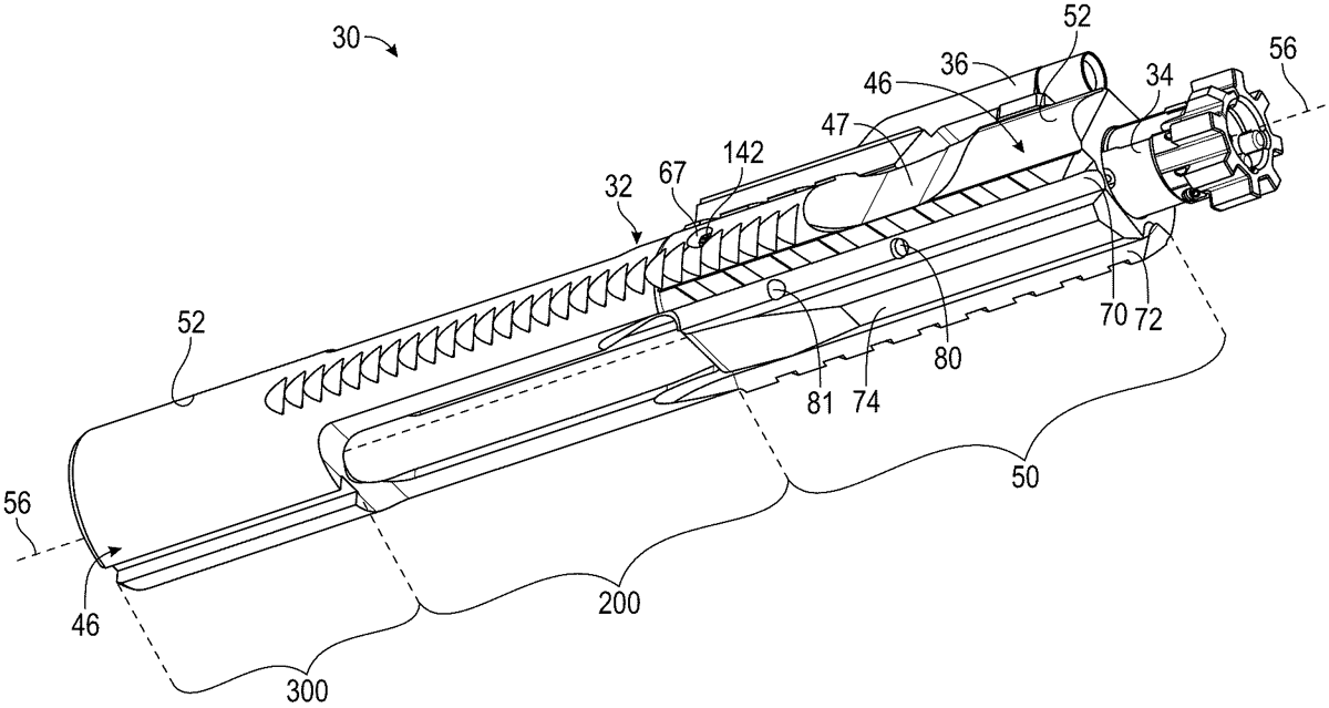
US12529535 - Ammunition convertible firearm

A firearm as disclosures herein comprises a main receiver body, a barrel, a breech bolt structure, a buffer assembly, a trigger group assembly, a bolt catch and at least one of an auto-sear, a magazine adapter and a breech bolt anti-rotation structure. The main receiver body is preferably of a monolithic construction whereby the handguard and breech bolt carrying bore can be manufactured from a single piece of material. The auto-sear is tripped by engagement with a buffer of the buffer assembly. The magazine adapter has an exterior surface structure engaged with a mating interior surface structure of a magazine well space of the main receiver body. A distal end portion of the breech bolt anti-rotation structure is engageable by the buffer for limiting forward travel of the buffer when the barrel is detached from the main receiver body.

Jan 20, 2026

US12529549 - Tool and method for producing a projectile and projectile

A projectile may be formed having a caliber in the range from 4.6 mm to 20 mm for ammunition. The projectile may be a deformation bullet, a partial fragmentation bullet, a partial or full jacket bullet, a hard-core bullet or tracer bullet. The projectile may be formed by cold forming, in particular extrusion, from an intermediate with a tube section of substantially constant wall thickness, which constitutes at least 50% of the longitudinal extension of the intermediate.

Jan 13, 2026

US12523437 - Multi-caliber firearm, a bolt and a barrel extension

A multi-caliber firearm includes a barrel extension configured to connect to an interchangeable barrel that is selected from at least two predetermined caliber sizes. An interchangeable magazine well receives a magazine that is selected to house cartridges from the predetermined caliber sizes. The magazine well includes a first end facing towards the stock and a second end facing towards the barrel extension. A bolt carrier group includes a bolt carrier and a bolt. A reverse movement unloads a used cartridge from the bolt and a forward movement loads a new cartridge from the magazine. The bolt carrier group receives an interchangeable bolt that is selected to load and unload one of the predetermined caliber sizes. The bolt includes a longitudinal cartridge retaining notch facing towards the magazine. The cartridge retaining notch is configured to retain the new cartridge in the magazine during the reverse movement.

Jan 13, 2026

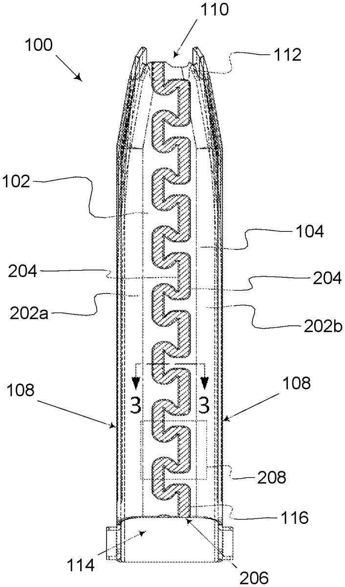
US12523439 - Firearm suppressor

A firearm suppressor ( 100 ) is disclosed that includes a plurality of fluid redirectors ( 202 ). The fluid redirectors ( 202 ) include vanes ( 402 ) in one of either a clockwise or counterclockwise configuration. The firearm suppressor ( 100 ) also includes an outer tube ( 102 ) disposed around the plurality of fluid redirectors ( 202 ). The fluid redirectors ( 202 ) are stackable and include an annular base ( 404 ) that tapers to a central opening ( 406 ), where the central opening ( 406 ) is configured to receive a projectile. Each vane ( 402 ) is configured to nest into the annular base ( 404 ) of a first adjacent stackable fluid redirector ( 202 ). A firearm is also disclosed and includes a barrel ( 1402 ) and the firearm suppressor ( 100 ).

Image unavailable
Jan 6, 2026

US12514590 - Cartridge system

A cartridge system includes a clip unit including a clip having a plurality of arms; a case including an accommodation region in which the clip unit is accommodated; and a spacer that is accommodated in the accommodation region, wherein the spacer is configured to be separated from the clip unit when the clip unit is pulled to a proximal-end side of the cartridge system.

Jan 6, 2026

US12514591 - Cartridge system, cartridge, and loading method of clip unit

A cartridge system includes a clip unit having a plurality of arms being openable and closeable; and a connection member that is connectable with a power transmission portion inserting through a sheath, and a case having an accommodation region in which the clip unit is accommodated; a distal-end opening provided at a distal-end side of the accommodation region and into which the clip unit is insertable; a proximal-end opening provided at a proximal-end side of the accommodation region and into which the sheath is insertable; and a locking portion configured to allow a movement of the clip unit being inserted from the distal-end opening toward the accommodation region and regulate a movement of the clip unit from the accommodation region toward the distal-end opening.

Jan 6, 2026

US12516917 - Expandable bullet

The invention discloses an expandable bullet having a set of deformable petals each including a main and set of two small petals, with the petals formed by a pattern of slits across a hollow core of the bullet tip.

Dec 30, 2025

US12510338 - Bullet feeder

The object of the invention is a bullet feeder for use in ammunition reloading devices. The bullet feeder of the invention comprises a static support ( 1 ), a rotary ring ( 2 ) provided with pockets ( 3 ) for receiving bullets ( 4 ), a container ( 5 ) for bullets ( 4 ), a sorting bridge ( 6 ), a guide ( 7 ) for conveying the correctly oriented bullets ( 4 ) to a die ( 40 ) for inserting bullets ( 4 ) into a cartridge case and a drive ( 8 ) of the rotary ring ( 2 ). The feeder of the invention, with its appropriately shaped pockets ( 3 ) and sorting bridge ( 6 ), exploits the shape of the bullet ( 4 ) to position it correctly in the position of insertion. Due to the specific shape and positioning of the sorting bridge ( 6 ), the bullet feeder of the invention can be easily adapted to different calibres and different shapes of bullets.

Dec 23, 2025

US12504262 - Lead-free ammunition projectile

A bullet (ammunition projectile) comprising a branched condensation polymer and a filler, wherein the filler is present in an amount from about 10% to 65% by volume of the branched condensation polymer and filler is described. The bullet may be made by heating a mixture comprised of a branched condensation polymer and a filler comprised of a first and second filler having differing densities and differing particle size distribution to form a molten mixture and injecting the molten mixture into a mold to form the ammunition projectile allowing for the tailoring of the characteristics of the bullet for differing applications.

Dec 23, 2025

US12504263 - Seating die

A seating die assembly is provided that includes a die body having a longitudinal axis, a first end surface and a second end surface opposing the first end surface, the first and second end surfaces separated from each other along the longitudinal axis, an elongated cavity disposed along the longitudinal axis, a cartridge receiver defining an opening on the first end surface connected to the elongated cavity, a top punch for seating a bullet in a casing disposed at least partially within the elongated cavity and translatable within the elongated cavity along the longitudinal axis, and a biasing element disposed within the elongated cavity for urging the top punch toward the cartridge receiver to seat the bullet in the casing.

Dec 16, 2025

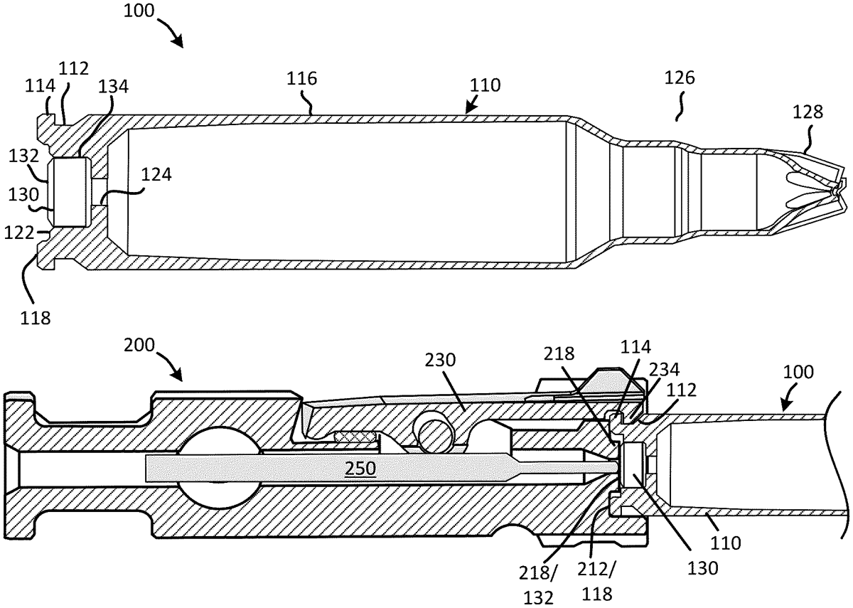
US12498204 - Firearm cartridge with roll and tapered crimps and related methods for assembly

A cartridge for a firearm, including a projectile, a gas check, a case, a propellant, and a primer configured to ignite the propellant. The propellant is arranged between the gas check and an end surface of the case in which the primer is arranged. The case is crimped against the projectile. The case includes an open end with discrete roll crimps distributed along a circumference of the open end. The case further includes tapered crimps between the roll crimps along the circumference of the open and. The open end alternates between tapered and roll crimps along the entire circumference of the open end. Each of the roll crimps and tapered crimps are crimped to the projectile.

Dec 16, 2025

US12498206 - Primer placement with shuttle

An apparatus, system, computer-readable medium, process, or combination thereof to seat a primer in a projectile casing. For example, a primer may be seated according to a depth indexed from a bottom of a projectile casing. A user, programmer, or control can seat, place, adjust, or otherwise determine a depth to seat a primer from a projectile casing bottom. A method to index a depth to seat a primer from a base of a projectile casing.

Dec 2, 2025

US12487042 - Mechanical magazine

A mechanical magazine, including a casing and a mechanical driver. The casing includes an ammunition inlet, an ammunition outlet, and an ammunition passage extending from the ammunition inlet to the ammunition outlet. The mechanical driver is disposed on one side of the casing and is configured to drive ammunition pills to move from the ammunition inlet to the ammunition outlet. The mechanical driver includes a rotation disc and an energy storage unit; the rotation disc is rotationally connected to the casing to push the ammunition pills to move along the ammunition passage; the energy storage unit is disposed on the rotation disc and is subjected to elastic deformation to store or release energy when the rotation disc rotates relative to the casing; when the rotation disc rotates in a direction towards the ammunition inlet, the energy storage unit is compressed to save energy.

Dec 2, 2025

US12487045 - Firearm suppressor

A suppressor assembly for a firearm includes a rear mount, a rear cap, at least one baffle on a forward side of the rear cap, and a front cap on a forward side of the at least one baffle. The rear mount includes an inner bore, a rear attachment interface, and a forward attachment interface. The rear cap is attached to the rear mount through the forward attachment interface. The rear attachment interface connects the suppressor assembly to the firearm. The front cap includes a plurality of exit holes that allow propellant gases to exit the suppressor assembly through the front cap.

Dec 2, 2025

US12487064 - Lightweight end cap

The invention relates to a method of improved ammunition production, more specifically to a cellular structure end cap, suitable for an ammunition round, said end cap comprising a porous 3D spatial structure in the shape of said end cap, wherein in said porous 3D spatial structure comprises a surface skin.

Nov 25, 2025

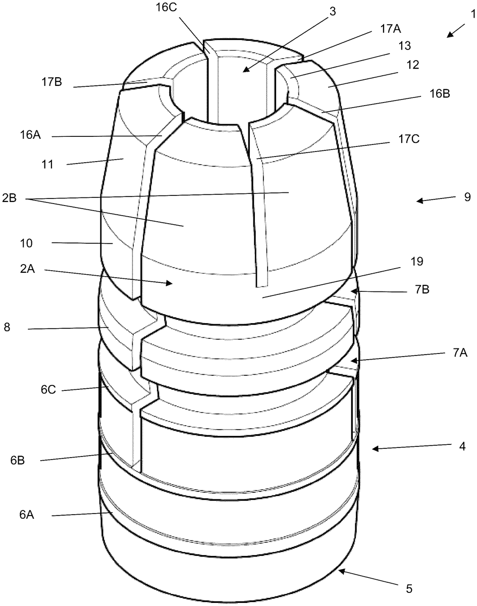
US12480388 - Propellant container for a perforating gun

A propellant container for a perforating gun includes a lower cap, one or more pieces of propellant positioned within the lower cap, wherein at least one of the one or more pieces of propellant defines one or more through-holes, and an upper cap matable with the lower cap to secure the one or more pieces of propellant within the lower cap. A filler material is present within interstitial spaces between the one or more pieces of propellant.

Nov 25, 2025

US12480751 - Ammunition decapping apparatus

Provided is ammunition decapping apparatus 10 comprising a decapping platform 12 , a case receptacle 14 , a die gantry 40 arranged over the decapping platform 12 and including a reciprocating die mount 42 , and a case feeder 46 configured to operatively feed a case upright onto the decapping platform 12 . Also included is a case urger 48 configured to urge a case fed from the case feeder 46 into the case receptacle 14 , and an actuator arrangement 50 configured to actuate the case urger 48 and die mount 42 so that a case is fed into the decapping receptacle 14 and a die 44 mounted in the die mount 42 is able to decap the case.

Nov 18, 2025

US12474136 - Firearm suppressor with progressive rotation baffle arrangement

A firearm suppressor includes a first section along an axis; a second section along the axis downstream of the first section, the second section having a second section twist rate; a third section along the axis downstream of the second section, the third section having a third section twist rate, the third section twist rate greater than the second section twist rate; and a fourth section along the axis downstream of the third section, the fourth section having a fourth section twist rate, the fourth section twist rate greater than the third section twist rate.

Nov 18, 2025

US12474147 - Grounding sabot and methods of use

A sabot that includes a body configured to be partly received within a propellant chamber of a perf gun, and the body includes an interface configured to engage a projectile, a divider that defines part of the interface, an ignition pass through that extends through the divider, an ignition stack electrically connected to the ignition pass through, a ground terminal electrically connected to the ignition pass through, a deflector defined by the divider and having a cup-shaped configuration, and the deflector is configured to expand diametrically upon ignition of a propellant in the propellant chamber when the sabot is positioned within the propellant chamber, a gas valve configured and arranged to be actuated by expansion of the deflector, and a compensator positioned between the interface and the gas valve.