Arm Brace

Patents tagged Arm Brace

Jul 8, 2025

US12352528 - Clamp mount system for a firearm arm brace

A device may include an elongated body comprising an opening configured to receive a receiver extension tube of a firearm. A device may include a brace body affixed distally to the elongated body and comprising a window configured to receive a clamp mount, wherein the clamp mount is configured to retain the arm brace in a fixed position on the receiver extension tube and comprises: one or more clamps comprising at least one through-hole and one or more pads, wherein the one or more pads are configured to engage with the receiver extension tube via adjustment of one or more fasteners interfacing with the at least one though-hole.

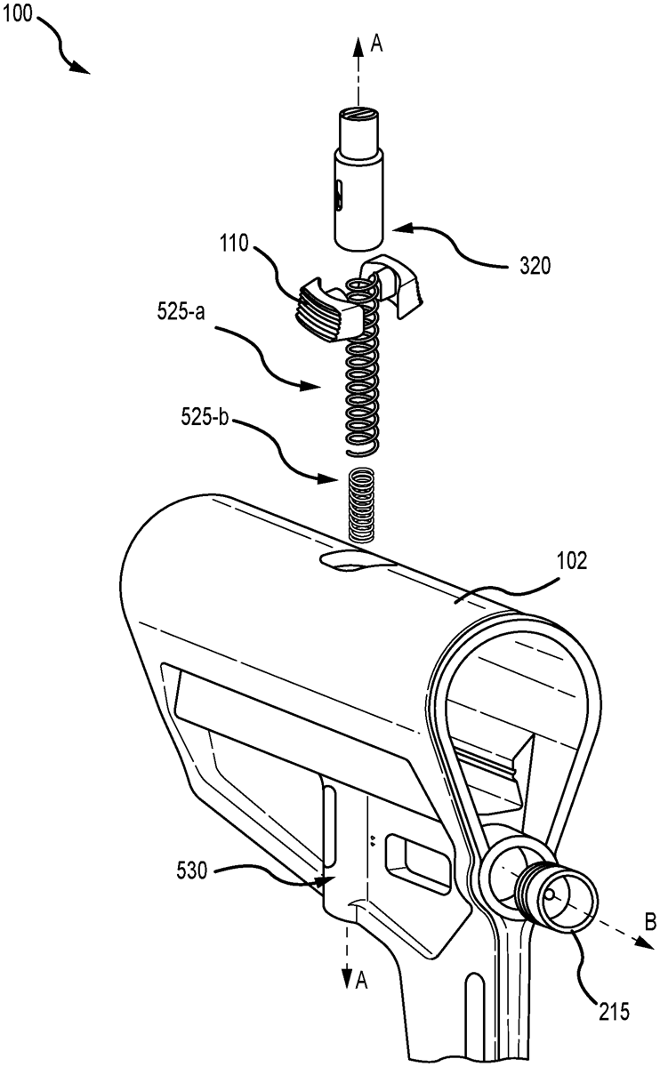
Jun 17, 2025

US12332016 - Firearm stock or arm brace

This disclosure describes a firearm stock or arm brace with an adjustable length of pull. The stock or arm brace can include a body and lower stock, where the body includes a buffer tube receiving aperture and the lower stock includes a hollow cavity with a plunger and two concentric springs therein. One or more buttons can be affixed to sides of the plunger in the hollow cavity that can be used to depress the plunger against the force of one or both of the springs. One of the two springs may be shorter than the other and have a greater spring constant than the longer spring. Depressing the plunger against the taller spring may allow a user to adjust the length of pull while greater pressure and engagement of the second spring allows the stock or arm brace to be removed from a buffer tube or receiver extension.