Armor-Piercing

Patents tagged Armor-Piercing

May 20, 2025

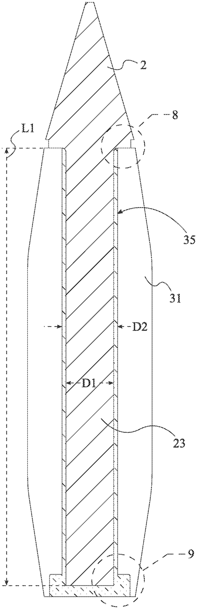
US12305964 - Alternate armor piercing bullet configuration

The alternate armor-piercing bullet is a firearm projectile that is designed to provide high accuracy and improved armor penetration. To accomplish this, the firearm projectile comprises a penetrator, a jacket, and a temperature-resistant metallic paste. The penetrator has an exterior tip with a full-length shaft positioned inside of the jacket. The outer surfaces of the shaft and the inner surfaces of the jacket are coated with the metallic paste. When the projectile is fired from a gun, the metallic paste holds the jacket and the penetrator together until impacting the armor. Once the armor is pierced, the penetrator's full-length shaft assists in directional stability, allowing the penetrator to maintain its trajectory and reach the intended target.