Artillery

Patents tagged Artillery

May 5, 2026

US12618627 - Laser ignition system for large-caliber artillery

The present invention relates to a laser ignition system for a large-caliber artillery, which provides a linear laser beam shape, and the ignition system of the present invention evenly combusts a cylindrical large-caliber artillery propellant with a hollow center in an energy-efficient manner using a laser in longitudinal and radial directions.

Apr 14, 2026

US12601575 - Range extension device

The present invention relates to a range extension device, particularly to a reversible range extension device, especially reversible base bleed device. There is provided a reversible range extension device, capable in use, of being reversibly engaged to a body of an artillery shell, said range extension device comprising at least one energetic material, and an igniter, wherein the range extension device comprises a first end with an aperture, and second closed end, wherein the range extension device, in use, is selectively arranged to be in an active orientation or inert orientation, wherein in the active orientation the range extension device is arranged such that the aperture faces rearwardly away from the shell to allow the range extension device to function, and in the inert orientation the range extension device is arranged such that the aperture faces inwardly towards the shell.

Mar 10, 2026

US12571617 - Testing and data transfer to artillery guiding kits

Projectile guiding assemblies, caps and methods of delivering power for testing and optionally data over spring-mounted fin(s) of the guiding assembly are provided. The guiding assemblies are configured to have continuous electrically conductive path(s) from the fin(s), through the respective spring(s) on which the fin(s) are mounted, and into the electronics module, which may receive power for testing and guiding data from external source(s) over the electrically conductive path(s). In the testing state, cap mechanically secures the fin(s) to contact(s) thereupon to assure continuous power and data transfer, sparing surface area that was previously dedicated to power and data transfer and simplifying these processes, especially under field conditions.

Feb 24, 2026

US12560393 - Assembly for positioning and keeping in position a projectile in a stretcher and loading-aid device comprising such an assembly

The invention relates to a rammer ( 1 ) for positioning an artillery shell, the rammer ( 1 ) comprising a stretcher ( 2 ) intended to receive the shell and guide it in translation, the rammer ( 1 ) being characterized in that it comprises a pusher ( 4 ) which can be driven in a reciprocating movement along the stretcher ( 2 ), reciprocating movement which is provided by a pair of closed flexible links ( 6 ) arranged on either side of the pusher ( 4 ), each link ( 6 ) connecting a drive wheel ( 6 b ) and a free wheel ( 6 a ), the pusher ( 4 ) having a bearing surface intended to correspond with a rear face of the shell in order to push it.

Sep 23, 2025

US12422234 - Integrated driving band obturator for artillery

A projectile that includes an artillery shell having a casing that defines a surface is provided. The projectile has an obturator that includes an obturator first material layer on the casing surface and an obturator second material layer on the obturator first material layer. The obturator also has an obturator third material layer on the obturator second material layer. The projectile also has a driving band that includes a driving band first material layer on the casing surface and a driving band second material layer on the driving band first material layer. Additionally, the projectile includes a driving band lead-in having a driving band lead-in first material layer on the casing surface and a driving band lead-in second material layer on the driving band lead-in first material layer.

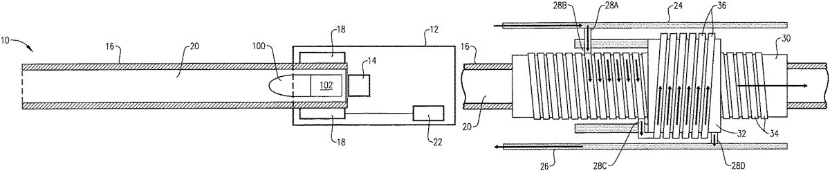
Sep 16, 2025

US12416463 - Helical electromagnetic counter recoil mechanism

An artillery configured to propel a projectile, the artillery comprising a firing mechanism, a barrel, and a helical electromagnetic recoil mechanism. The firing mechanism fires the projectile in a first direction toward a target. The barrel has an open-ended bore that guides the projectile in the first direction. The helical electromagnetic counter recoil mechanism includes an electrical energy source, a stator, and a helical electromagnetic armature. The electrical energy source provides electrical energy when the firing mechanism fires the projectile. The stator and armature generate an electromagnetic force via the electrical energy. The helical electromagnetic armature moves in a second direction opposite the first direction via the electromagnetic force when the firing mechanism fires the projectile in the first direction to minimize recoil of the artillery.