Attachment

Patents tagged Attachment

Jan 27, 2026

US12535288 - Pistol pivoting brace assembly

A firearm attachment member includes a firearm mounting structure which includes a receiver support shelf for supporting thereon a receiver of a firearm. The firearm attachment member includes left and right halves, arranged for securing the firearm between the left and right halves, each of the left and right halves extending along a longitudinal axis corresponding to a longitudinal firing axis of the firearm. One of the left and right halves pivots in azimuth with respect to the longitudinal axis about a firearm attachment member pivot located rearward of the firearm mounting structure. Each of the left and right halves includes a forward fastening flange configured to be mounted below the receiver and in front of the trigger guard of the firearm. The forward fastening flanges are fastened together with a fastener.

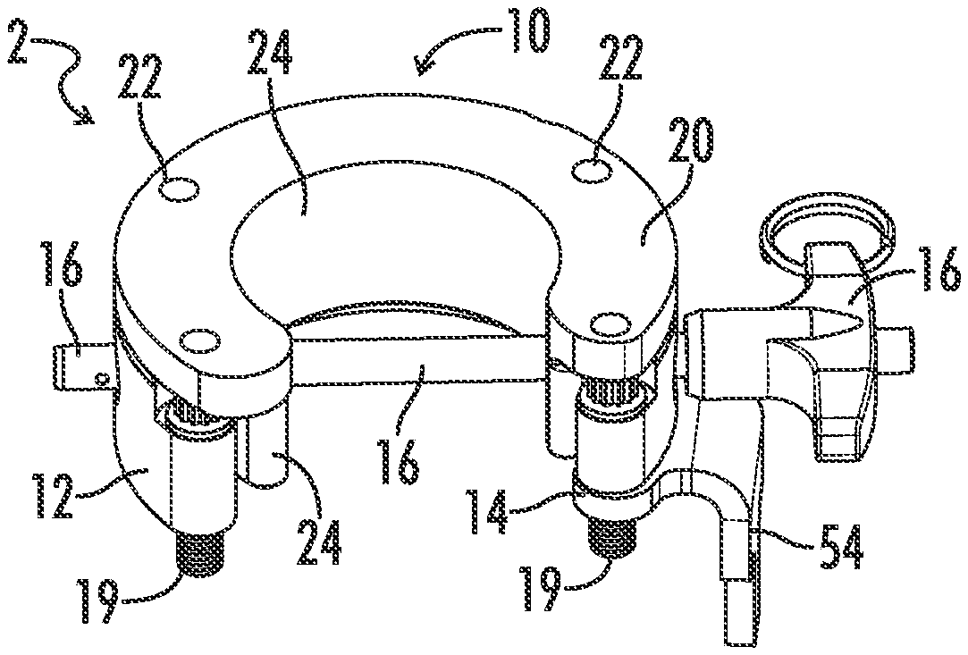
Jan 27, 2026

US12535289 - Firearm handguard attachment

A firearm is provided that comprises a barrel, a magazine tube below the barrel, and a handguard with first and second portions. A clamp between the handguard portions has a main body with deformable lugs and a fastener. The handguard's first portion features an arcuate surface for the barrel and a bore for the magazine tube. The lugs move inward and downward, securing the handguard. The clamp is positioned within a recess between the handguard portions. Fasteners are accessible through apertures in the handguard. The clamp contacts both the magazine tube and the barrel when tightened. The clamp includes a main body and deformable lugs, with a fastener to secure the handguard. The lugs are deformable, made of various materials, and designed to bend upon tightening. The method involves positioning and tightening the clamp to deform the lugs and secure the handguard.

Jan 13, 2026

US12523448 - Infrared firearm sight camera attachment, system and method

Devices, systems and methods for providing firearms, including handguns, with infrared sights and a camera which can be held in one shooter's hand. The camera can send live video which can display a target to a portable display, such as a smart phone, smart watch or smart glasses, that is held in another hand of the shooter, so that the shooter remains out of harms' way if the target is armed. The novel sight can include hybrids of combinations of infrared and bright white visible lights, and use all visible bright white light. A motion sensor or magnetometer sensor can be separately used to cause the novel sight to become activated. Wireless charging can be accomplished with charging circuits, charging pads and USB cables and ports. A multi-position locking system can allow for a rail key to be used for spacing the novel sight at up to twelve different positions relative to the firearm.

Dec 2, 2025

US12487058 - Firearm accessories attachment

An apparatus implementable on a firearm includes an accessories attachment device. The accessories attachment device is configured to attach to the firearm. The accessories attachment device includes physical features that are configured to accommodate mounting of accessories capable of mounting by a first design and a second design different than the first design onto the accessories attachment device.

Nov 4, 2025

US12460884 - Spade grip attachment assembly for a minigun

A spade grip attachment assembly for securing a spade grip to a minigun clutch includes a first adapter member and a second adapter member. The first adapter member is on the spade grip. The second adapter member is on the clutch. The first and second adapter members are configured such that one is receivable in the other. Each adapter member can define a pair of coaxially aligned pin holes that align to form a passage in which a fastener is receivable when one adapter member is received in the other. The fastener is receivable in the passage to releasably secure the first adapter member to the second adapter member.

Sep 23, 2025

US12422223 - Guidance attachment for firearm

A guidance system for a firearm includes a snap-on optical attachment and a flexible touch screen. The guidance system includes at least one camera; a high-definition flexible touch screen; a cable connecting the camera to the touch screen; a 3 point 5 point hinge connected to the touch screen; a battery; and a processor. A thermal sensor or thermal or infrared camera may also be included. The guidance system is water resistant for up to 30 minutes.

Aug 12, 2025

US12385710 - Gun attachment

The present disclosure provides systems and techniques for an attachment that can be fastened to a gun. The attachment may include a top surface having a longitudinal axis and an aiming sight that is parallel with the longitudinal axis, a front surface having a latitudinal axis that is perpendicular to the longitudinal axis, the front surface including a muzzle aperture, a left surface, a right surface, and a fastening system. The fastening system may include a first mounting aperture of the left surface, a second mounting aperture of the right surface, and a locking pin capable of being positioned in the first mounting aperture and in the second mounting aperture such that the locking pin fastens the attachment to the gun. The attachment may be fastened to the gun such that the longitudinal axis is parallel with a longitudinal bore axis of the gun.

Jun 24, 2025

US12339082 - Suppressor attachment system

A disclosed attachment system for a energy suppression device may include an energy suppression device and an attachment mechanism secured to the energy suppression device. The attachment device may include a first lever and a second lever, the first lever may be rotatable with respect to the second lever such that the first lever may apply a force against the second lever when in a locked position and the force may be reduced when the first lever is moved to an unlocked position. The first lever may have a slot having a width that tappers from a first end of the slot to a second end of the slot. The slot may be configured to receive a tool to apply additional force to move the first lever from the locked position to the unlocked position.

Jun 24, 2025

US12339094 - Attaching a grip attachment or other attachment in a recoil environment at threadless region(s)

In various embodiments, an apparatus to operate in a recoil environment includes an attachment configured to slidable couple to a firearm, the attachment including a threadless region to couple to one or more corresponding threadless regions of at least one part: wherein the attachment includes: a slidable attachment interface to restrict a coupling movement of the attachment relative to the at least one part, to a fore/aft movement; and an additional interface associated with a plunger or other retaining part, the additional interface to restrict a fore/aft position of the attachment relative to the at least one part. Other embodiments may be disclosed and/or claimed.

Jun 3, 2025

US12320602 - Firearm muzzle attachment apparatus

A mount for mounting a firearm sound suppressor or silencer to a firearm muzzle or muzzle device operates by using primary mounting lugs on the suppressor which engage sockets on the muzzle device. The primary lugs prevent the suppressor from axially moving with respect to the muzzle device, thus causing them to be fixed together as a unitary device. Angled bearing faces on the muzzle device and the sound suppressor are pressed against each other by rotating the sound suppressor on threads which drive the angled bearing faces together, thus tightening the primary lugs within their sockets. Backup lugs on the silencer engage an annular groove on the muzzle device to retain the silencer on the firearm to which it is mounted in case of failure of the primary lugs. Rapid attachment and detachment are supported by these structures.