Autoloading

Patents tagged Autoloading

Apr 29, 2025

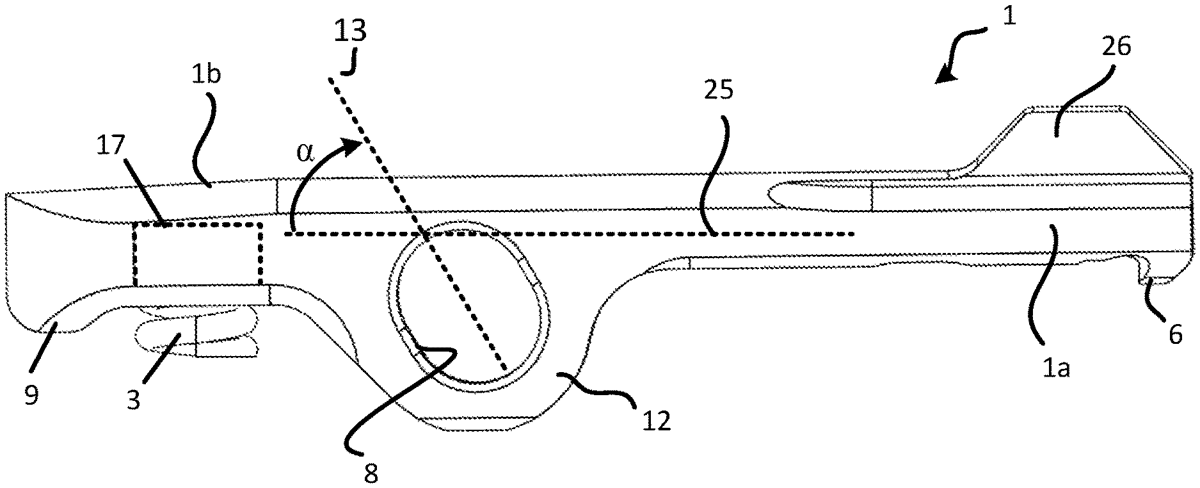
US12287165 - Extractor for an autoloading firearm

Disclosed is an extractor for an autoloading firearm, the extractor having an extractor body extending a proximal end portion to a distal end portion. A knuckle is between the proximal end portion and the distal end portion and defines a pin opening extending crosswise through the extractor, where the pin opening has an elongated shape. During rearward movement of the bolt after firing, the elongated opening enables the extractor to shift downward and/or forward so that part of the extractor contacts the bolt, thereby preventing the extractor from pivoting about the extractor pin.