Automatic

Patents tagged Automatic

May 19, 2026

US12631428 - Automatic weapon subsystem selecting target, ID target, fire

An automated weapon system is comprised of a human transported weapon comprising a barrel and munitions; sensing means; targeting means; computational logic for determining where to aim the human transported weapon; aim computational logic; firing activation means; and, firing means. The munitions can be aimed towards a targeting area to be propelled through the barrel. The sensing means senses which of up to a plurality of targets are within firing range of the automated weapon system. The targeting means selects a selected target from the targets in the targeting area that are within the firing range, responsive to the sensing. The computational logic determines where to aim the human transported weapon so that the munitions will hit the selected target if fired at a firing time. The aim computational logic adjusts the aim of the munitions through the human transported weapon, to compensate as needed for where the selected target is at the firing time, responsive to the determining where to aim. The firing activation means initiating firing of the munitions at the firing time. The firing means fires the munitions responsive to the adjusting the aim and the initiating firing.

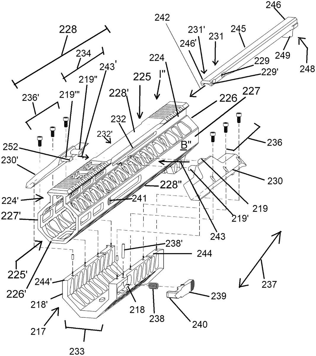
Mar 17, 2026

US12578155 - Automatic firearm with pressure controlled inertia mechanism

An automatic firearm is provided, which operates with a system which unlocks the rifle with a certain force and makes it ready for firing again by using this energy, while the mechanism accelerates backwards with the force created by the pressure formed in the barrel after the weapon is fired, and the idle parts in the mechanism move forward due to inertia, creating create kinetic energy and includes apparatus suitable for this system.

Jan 6, 2026

US12516902 - Load balanced firearm barrel extension

A barrel extension configured to reduce the likelihood of premature bolt failure in automatic and/or semi-automatic style weapons. The barrel extension includes one or more cutouts within a body of the barrel extension. The cutouts are configured to reduce rigidity of the barrel extension proximal to the location of the cutout. As the rigidity around the extractor is lowered, the force on the bolt lugs is more evenly distributed. In one example, the cutouts are in the form of a single oval cutout positioned adjacent an extractor of the bolt.

Nov 18, 2025

US12474140 - Forward charging handle for firearm and method therefore

A device and method for charging an automatic or semi-automatic firearm, via a unique forward charging handle configuration. The present invention is illustrated and for use on the AR-15 rifle platform, but is equally applicable to various other caliber and configured firearms, with or without gas tubes. The forward charging handle slidably reciprocates about and along the frontal support or hand guard area (also referenced as the fore stock) in a pump action, allowing ejecting of spent, jammed or dud ammo from the chamber area, or initial chambering or charging the firearm while maintaining shooting position. The present invention is particularly suitable for use in competitive shooting, military applications, hunting, etc, allowing the user to charge, chamber, and/or unjam the firearm while maintaining firing posture, without the need for the user's hand leaving the front support.

Sep 9, 2025

US12410979 - Control element, breechblock stop lever, breechblock carrier, trigger, trigger assembly for an automatic weapon, and an automatic weapon equipped therewith

One example control element for controlling a breechblock stop lever that can move about a first axis of rotation, which can be moved between a standby position for releasing a breechblock carrier and a retaining position for retaining the breechblock carrier, includes a first arm ( 15 ) that can rotate about a second axis of rotation (B), a first control section on the first arm, the first control section including a first contact surface ( 11 a ) and a second contact surface ( 11 b ) facing away from the first contact surface ( 11 a ), which can be rotated about the second axis of rotation (B) for the control element ( 10 ) by a control curve ( 36, 37, 38 ) on the breechblock carrier ( 30 ); and a second control section ( 13 ) on the first arm, wherein the second control section can be controlled by a control surface ( 55 a ) on a trigger ( 50 ). Other examples are possible.

Aug 5, 2025

US12379172 - Ammunition feed

The invention relates to an ammunition feed ( 1 ) for a gun barrel, in particular of an armoured vehicle, having at least one magazine and a rammer ( 2 ), the gun barrel having a loading space, it being possible for an ammunition ( 3 ) to be introduced from the magazine into the loading space by means of the rammer ( 2 ), and it being possible for an ammunition ( 3 ) to be led out of the loading space into the magazine by means of the rammer ( 2 ). An ammunition ( 3 ) can be guided out of a loading space particularly quickly and reliably by means of the ammunition feed ( 1 ), in that a pawl ( 4 ) is arranged movably on an end of the rammer ( 2 ) facing the cartridge, the pawl ( 4 ) being positionable in an engagement position ( 5 ) in order to guide the ammunition ( 3 ) out of the loading space into the magazine, the pawl ( 4 ) being arranged in a recess ( 6 ) of the ammunition ( 3 ) in the engagement position ( 5 ), the ammunition feed ( 1 ) being designed as an automatic ammunition feed ( 1 ), a control device being provided, the control device being connected in terms of control technology to at least one actuator of the rammer ( 2 ) and at least one actuator of the pawl ( 4 ), a type of ammunition being automatically selected on the basis of data of automatic target detection and/or automatic target recognition, by means of which a high probability of hitting and destruction of a target to be combated can be achieved.