Baffle

Patents tagged Baffle

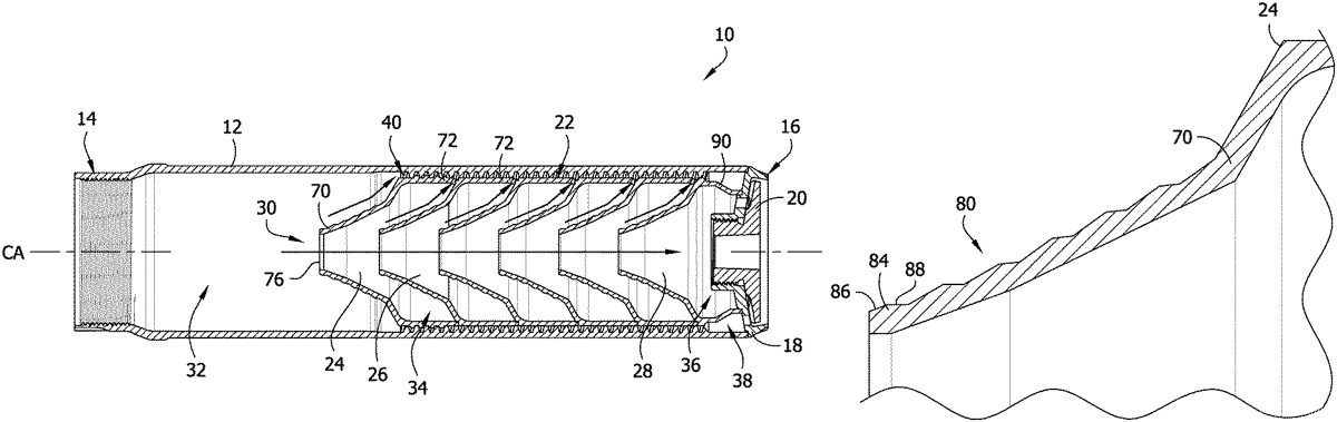
Nov 4, 2025

US12460888 - Suppressor with gas cross flow and reduced back pressure

A suppressor for a firearm has a tubular housing extending along a bore axis from a proximal end to a distal end. A baffle stack within the hollow tubular housing extends along the bore axis and includes a tubular baffle wall with a plurality of baffle structures connected to an inside of the tubular baffle wall, where individual baffle structures taper proximally to a central opening on the bore axis. The suppressor defines an inner volume inside of the tubular baffle wall and an outer volume between the tubular baffle wall and the hollow tubular housing. Flow-directing structures in the outer volume include pairs of diverging vanes and pairs of converging vanes. A conduit between adjacent baffle structures defines a gas flow pathway in a radially outer portion of the inner volume and defines an opening located between the adjacent baffle structures to direct gas flow across the bore axis.

Jul 1, 2025

US12345492 - Hybrid heterogeneous material baffle for firearm noise suppressor

Provided is a firearm noise suppressor baffle formed of at least two material zones. The zones are made of materials having dissimilar coefficients of thermal expansion from each other and have an interface substantially transverse to a bore axis. The baffle includes an annularly interrupting gap having a width. The gap is formed in at least one of the material zones and extends substantially longitudinal relative to the bore axis from an edge of the baffle.

May 27, 2025

US12313359 - Expansion-compression baffle

A suppressor baffle and a suppressor for a firearm. The suppressor includes a firearm attachment portion, a sleeve portion, and a baffle assembly with a plurality of baffles. At least one of the baffles includes a tubular body with a proximal exterior surface. The proximal exterior surface has a plurality of spaced-apart annular ridges. A first annular ridge includes a first annular compression surface and a first annular expansion surface, and a second annular ridge includes a second annular compression surface. The ridges are shaped and arranged to define a convex first expansion corner between the first annular compression surface and the first annular expansion surface, and a concave first compression corner between the first annular expansion surface and the second annular compression surface. Gas flowing along the proximal exterior surface expands at the first expansion corner and compresses at the first compression corner to dissipate energy in the gas.