Biodegradable

Patents tagged Biodegradable

May 27, 2025

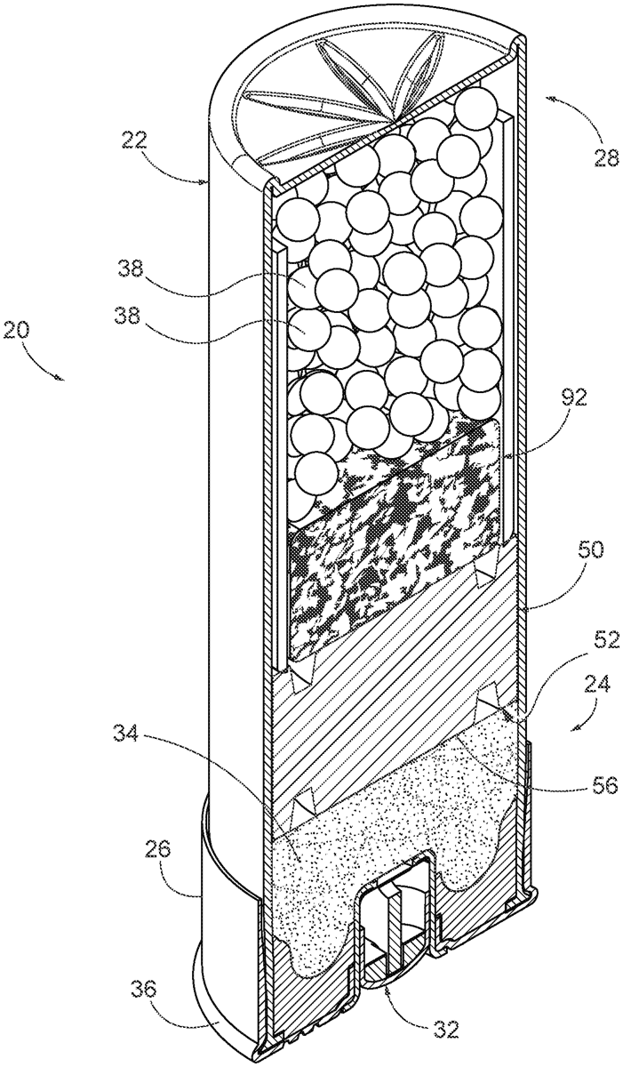
US12313388 - Biodegradable shotshell components

Devices and methods for shotshell cartridges, particularly shotshell cartridges with biodegradable components. One or more of the casing, shot wad, spacer, and powder wad may be formed of biodegradable materials. A biodegradable shot wad is manufactured of cellulosic fibers and wax to provide obturation and gas seal properties at high pressures with high reliability.

May 6, 2025

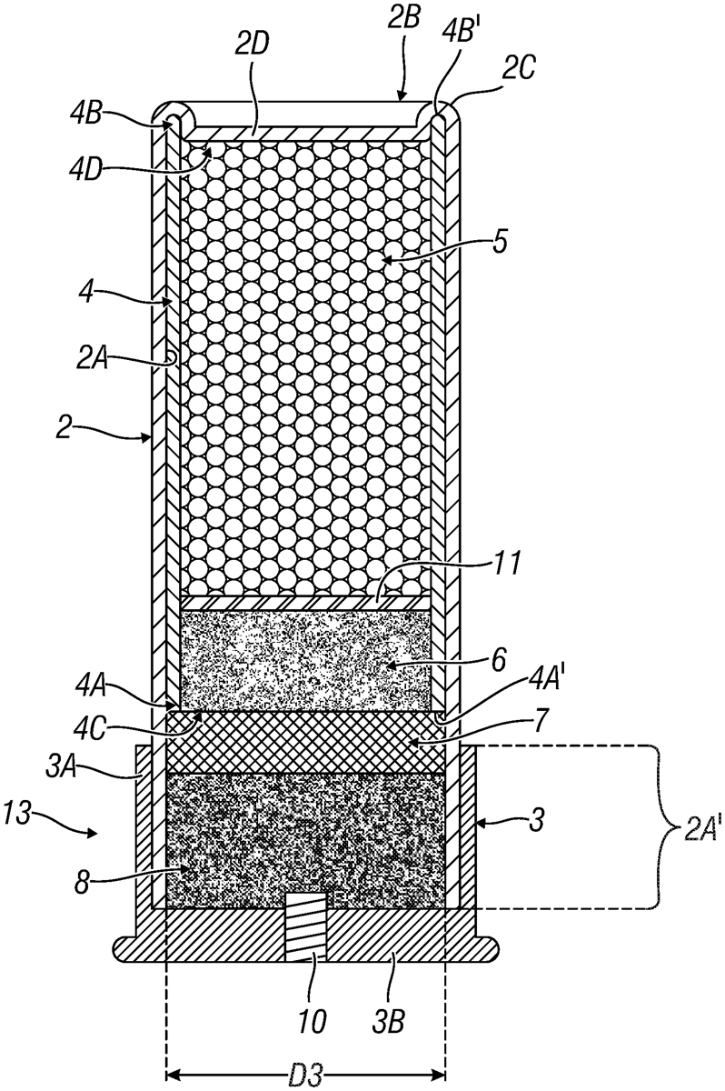
US12292270 - Shotshell with a biodegradable wad

A shotshell including a hull with a metal head, a base wad, a primer and an outer tubular element, a powder housed inside the hull, and a wad housed inside the outer tubular element and above the powder. The wad includes an inner tubular element adapted to contain a plurality of pellets and having a first and a second end, and a side wall, and a sealing element. A side wall of the inner tubular element contacts an inner side wall of the outer tubular element. The sealing element is inside the outer tubular element of the shotshell between the powder and the first end of the inner tubular element and an outer side wall of the sealing element being in contact with the inner side wall of the outer tubular element, and outside the inner tubular element and in contact with the first end of the inner tubular element.