Bolt-Action

Patents tagged Bolt-Action

May 5, 2026

US12618624 - Modular bolt action rifle

The present disclosure presents a modular bolt action rifle system with roller bearings having an upper receiver assembly housing a barrel, a lower receiver assembly comprising an AR-style fire control system and a magazine well, a bolt carrier group assembly including a bolt carrier, top roller bearings and side roller bearings, and a handguard assembly, wherein the lower receiver assembly and its AR-style fire control and magazine well are releasably attached to the upper receiver, and prior to attachment of the barrel assembly the bolt carrier group assembly, consisting of the bolt carrier, bolt head, bolt charging handle, top roller bearings, and side roller bearings is inserted unto the upper receiver. An extension of the barrel assembly is releasably attached to the upper receiver. The barrel assembly is releasably secured by releasable attachment of the handguard assembly to a barrel extension receiver of the upper receiver assembly.

Jan 27, 2026

US12535279 - Turlakov's rifle N 9 (cossack carbine)

The invention relates to hand firearm and is aimed at improving the ergonomics of firearm with a bullpup layout. The specified technical result is achieved by the fact that the bolt of the firearm has an extension of the bolt handle, which makes it possible to position the bolt handle near the trigger, thereby facilitating the process of reloading the firearm.

Dec 23, 2025

US12504244 - Modular bolt action rifle with bearings

The present disclosure presents a modular bolt action rifle system with roller bearings having an upper receiver assembly housing a barrel, a lower receiver assembly comprising an AR-style fire control system and a magazine well, a bolt carrier group assembly including a bolt carrier, top roller bearings and side roller bearings, and a handguard assembly, wherein the lower receiver assembly and its AR-style fire control and magazine well are releasably attached to the upper receiver, and prior to attachment of the barrel assembly the bolt carrier group assembly, consisting of the bolt carrier, bolt head, bolt charging handle, top roller bearings, and side roller bearings is inserted unto the upper receiver. An extension of the barrel assembly is releasably attached to the upper receiver. The barrel assembly is releasably secured by releasable attachment of the handguard assembly to a barrel extension receiver of the upper receiver assembly.

Nov 25, 2025

US12480739 - Repeating firearm

The invention relates to a repeating firearm, in particular a repeating rifle, which is configured as a straight-pull bolt action rifle, comprising a forestock and a bolt handle. The repeating firearm is selectively operable either with the forestock or with the bolt handle.

Jun 10, 2025

US12326311 - Modular bolt action

A modular bolt action for a bolt action firearm is provided. The bolt action includes a receiver and a bolt assembly, the receiver being reconfigurable in a variety of different ways to accommodate a variety of different bolt assemblies. In this way, the modular bolt action can be reconfigured from a left-handed action to a right-handed action and/or from a two-lug action to a three-lug action. Fabrication of the modular bolt action includes adjusting the receiver to accommodate a desired bolt assembly and engaging such bolt assembly with the receiver.

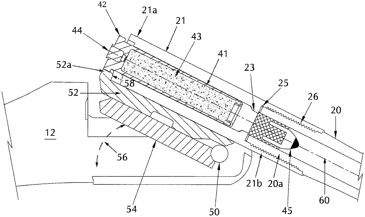
May 20, 2025

US12305950 - Rifles and muzzle loading rifles receiving propellant charge with an extended primer cap in a bolt action configuration, and method of loading

A bolt action rifle having a receiver; a bolt in slidable communication within said receiver, having an elongated body and a bolt head at a first end, and an exposed bolt face with a primer recess cavity having a base with a forward-facing surface, the base having an aperture therein, where the aperture is circumscribed by the forward-facing surface for receiving a propellant charge having an extended primer cap, and a firing pin within the bolt and movable between a disengaged position wherein a firing pin head is receded within the aperture and an engaged position wherein the firing pin head extends beyond the forward-facing surface into the primer recess cavity.