Brace

Patents tagged Brace

Jan 27, 2026

US12535288 - Pistol pivoting brace assembly

A firearm attachment member includes a firearm mounting structure which includes a receiver support shelf for supporting thereon a receiver of a firearm. The firearm attachment member includes left and right halves, arranged for securing the firearm between the left and right halves, each of the left and right halves extending along a longitudinal axis corresponding to a longitudinal firing axis of the firearm. One of the left and right halves pivots in azimuth with respect to the longitudinal axis about a firearm attachment member pivot located rearward of the firearm mounting structure. Each of the left and right halves includes a forward fastening flange configured to be mounted below the receiver and in front of the trigger guard of the firearm. The forward fastening flanges are fastened together with a fastener.

Nov 4, 2025

US12460902 - Handgun wedge stabilizing brace

A handgun wedge stabilizing brace (“HWSB”) comprising a stabilizing body and a support member which can be removably connected to a handgun. The stabilizing body braces the handgun against the shooting side of the front of the user's front torso below the shoulder and stabilizes it by being introduced between the side of the user's body torso below the shoulder and upper arm. One end of the support member is telescopically receivable into the stabilizing body and can be adjusted to the desired position by the user. The other end of the support member is removably connected to the rear end of a hand gun, particularly a heavy pistol. The handgun wedge stabilizing brace improves shooting control and stability when using a handgun, especially for one-handed shooters and individuals with a disability.

Jun 17, 2025

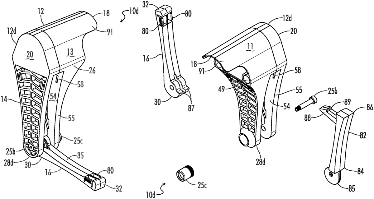
US12332017 - Handgun brace

A brace for stabilizing a handheld device such as a handgun against a user's forearm includes a vertically elongated body adapted to detachably engage a portion of the handheld device, and an arm pivotably connected to a portion of the body. The pivotable arm is selectably moveable between a stowed position wherein the arm is vertically aligned with the body, and a deployed position wherein the arm provides a surface against which a user's forearm is removably receivable to stabilize the handheld device when the body is engaged with the handheld device.