Break-Barrel

Patents tagged Break-Barrel

May 12, 2026

US12624908 - Break-barrel firearm

The present invention concerns a firearm comprising at least one frame; and a barrel group comprising at least one barrel, the barrel group being mounted in a tilting manner with respect to the frame, wherein the frame houses at least one closing device configured to act between the frame and the barrel group so as to selectively prevent the frame of the barrel group from tilting with respect to the frame, and is characterized in that the closing device comprises at least one pair of clamping elements with longitudinal development independent of each other, the clamping elements being slidably housed inside the frame, each along its own longitudinal development axis; and at least one pair of buffers each coupled to a respective clamping element so as to exert an axial thrust force on the respective clamping element substantially in parallel to and/or substantially along the respective longitudinal development axis.

Feb 10, 2026

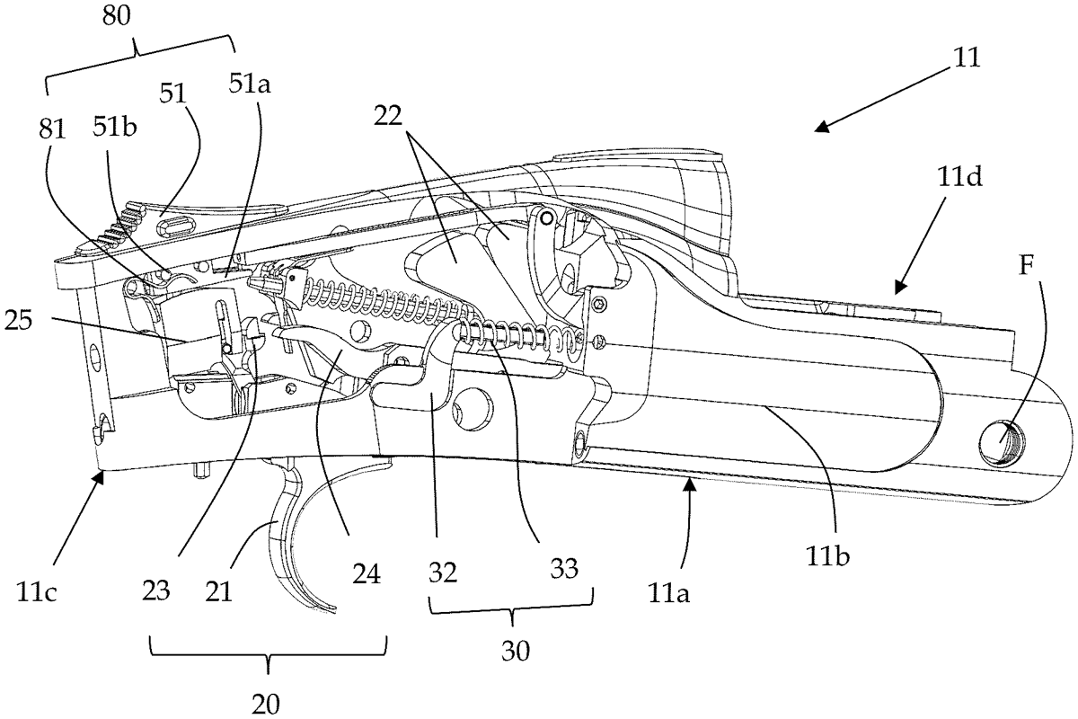
US12546546 - Break-barrel firearm with improved manageability

The present invention concerns a firearm comprising at least one frame and a barrel group comprising at least one barrel, the barrel group being mounted in a sliding manner with respect to the frame, wherein the frame houses at least one trigger device configured to trigger the firing of an ammunition, a safety device configured to act on the trigger device so as to selectively disengage it, and a closing device configured to act between the frame and the barrel group so as to prevent the barrel group from tilting with respect to the frame, and is characterized in that it comprises an actuation element configured to selectively activate the safety device and the closing device.