Breech

Patents tagged Breech

Mar 31, 2026

US12590771 - Large-caliber gun having a breech assembly with multiple chambers

A large-calibre firearm including a breech assembly including a breech block rigidly connected to a firearm barrel, a breech support movable in axial translation relative to the breech block and coupled to a breech head, the assembly further includes a plurality of loading chambers, a mechanism for moving the chambers, configured to support the chambers and successively place one of the chambers in a firing position, and at least one other chamber in a supply position, in which the at least one chamber is able to receive ammunition via its rear end, and a locking mechanism configured to move the breech head and the chamber placed in the firing position between an unlocked position and a locked position, in which the chamber is closed off at its rear end by the breech head and opens out at its front end into the firearm barrel.

Jan 20, 2026

US12529535 - Ammunition convertible firearm

A firearm as disclosures herein comprises a main receiver body, a barrel, a breech bolt structure, a buffer assembly, a trigger group assembly, a bolt catch and at least one of an auto-sear, a magazine adapter and a breech bolt anti-rotation structure. The main receiver body is preferably of a monolithic construction whereby the handguard and breech bolt carrying bore can be manufactured from a single piece of material. The auto-sear is tripped by engagement with a buffer of the buffer assembly. The magazine adapter has an exterior surface structure engaged with a mating interior surface structure of a magazine well space of the main receiver body. A distal end portion of the breech bolt anti-rotation structure is engageable by the buffer for limiting forward travel of the buffer when the barrel is detached from the main receiver body.

Dec 30, 2025

US12510314 - Breech block and rifle with such a breech block

A breech block with a bolt carrier, on which a bolt head and a locking device are arranged with two diametrically opposed locking elements pivotable from a release position to a locking position via a control element, for holding the bolt head in a locking position. The locking elements are mounted pivotably around a common transverse axis via journals and the control element contains front and rear support areas that abut against the locking elements for controlled forced movement of the locking elements into both the locking position and the release position.

Sep 9, 2025

US12410977 - Firearm

A firearm, comprising a frame ( 1 ) in which a breech block carrier ( 4 ) is arranged, as well as a barrel ( 2 ) behind the rear face ( 3 ) of which the breech block ( 5 ) is arranged in the frame ( 1 ). The barrel ( 2 ) is firmly connected to a barrel sleeve ( 6 ). The barrel sleeve ( 6 ) is slidingly mounted in a linear guide in the frame ( 1 ). The breech block ( 5 ) is mounted behind the rear face ( 3 ) of the barrel ( 2 ) slidingly in the direction of the barrel ( 2 ) axis. The breech block carrier ( 4 ) is slidingly mounted in a linear guide in the frame ( 1 ). On the top side of the breech block ( 5 ), a vertically movable locking block ( 9 ) is arranged, and the locking block ( 9 ) can be introduced into a recess ( 10 ) in the barrel sleeve ( 6 ). The frame ( 1 ) is provided with a front stop ( 12 ) of the barrel sleeve ( 6 ) and a rear stop ( 13 ) of the barrel sleeve ( 6 ). The barrel sleeve ( 6 ) is provided with a front stop ( 15 ) of the breech block ( 5 ), and a rear stop ( 16 ) of the breech block carrier ( 4 ). A barrel spring ( 14 ) is arranged between the frame ( 1 ) and the barrel sleeve ( 6 ).

Aug 26, 2025

US12398972 - Remote operated gun breech

A remote operated mechanism is provided for raising and lowering a seal in a gun loader breech via a transfer gear. The mechanism includes a servo motor, a pinion, a clutch and a worm gear. The servo motor axially rotates the pinion. The clutch controllably engages and disengages with the pinion. The worm gear couples the clutch to a shaft that engages the transfer gear. The clutch disengages the pinion from the motor in response to recoil from firing the gun. The worm gear includes a worm screw that axially turns with the pinion and a worm wheel that engages the worm screw to laterally spin a shaft connected to the transfer gear. The clutch includes a coupler for engaging the worm screw, a spur gear that connects the coupler to the pinion, and a spring that pushes the coupler to engage the worm screw prior to firing.

Aug 19, 2025

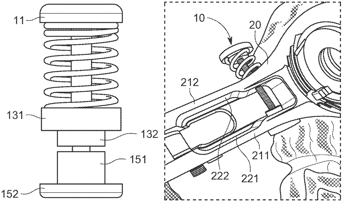
US12392573 - Hand-held gun

A hand-held gun having a grip part and a breech part movably supported in a longitudinal direction thereon is disclosed. A breech spring arrangement urges breech part in its initial position relative to grip part. For this purpose, breech spring arrangement is supported between the breech part and grip part. Starting from the initial position, breech part can move against the closing force of breech spring arrangement into an abutment position in which it abuts against a buffer body. Starting from the abutment position, breech part can be moved under elastic compression of buffer body in the longitudinal direction into a retracted position. In the movement area between the abutment position and the retracted position, a compression force is applied by the compressed buffer body in addition to the closing force of the breech spring arrangement between the grip part and the breech part.

Apr 15, 2025

US12276472 - Shotgun breech release

A breech release for a shotgun includes a push button, a return spring, a spring retainer, a threaded steel rod, and a release slide. the return spring is located between the push button and spring retainer. when the breech release engages with a breech, the breech release bisects an outer breech which hinged an inner breech, holding the breech closed in its default position. When the button is depressed, the button moves the slide out of the inner breech, allowing the breech to open.