Bullet Feeder

Patents tagged Bullet Feeder

Dec 30, 2025

US12510338 - Bullet feeder

The object of the invention is a bullet feeder for use in ammunition reloading devices. The bullet feeder of the invention comprises a static support ( 1 ), a rotary ring ( 2 ) provided with pockets ( 3 ) for receiving bullets ( 4 ), a container ( 5 ) for bullets ( 4 ), a sorting bridge ( 6 ), a guide ( 7 ) for conveying the correctly oriented bullets ( 4 ) to a die ( 40 ) for inserting bullets ( 4 ) into a cartridge case and a drive ( 8 ) of the rotary ring ( 2 ). The feeder of the invention, with its appropriately shaped pockets ( 3 ) and sorting bridge ( 6 ), exploits the shape of the bullet ( 4 ) to position it correctly in the position of insertion. Due to the specific shape and positioning of the sorting bridge ( 6 ), the bullet feeder of the invention can be easily adapted to different calibres and different shapes of bullets.

Jun 24, 2025

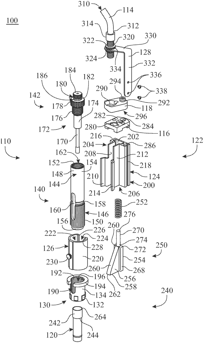
US12339109 - Bullet feeder device

An improved bullet feeder and seating die device for progressively inserting bullets into mouths of cartridge casings is disclosed. The bullet feeder device includes a seating die having a main die body having a threaded portion and a clearance cut and a passageway extending through the threaded portion to a bore of the main die body. A die lock having a threaded inner surface is provided to receive the threaded portion of the main die body. The die lock has a clearance slot alignable with the clearance cut in the main die body. A feed assembly is provided to sequentially supply bullets to the seating die and a activation assembly is provided to operate the feed assembly. A mounting assembly is provided to hold the seating die, feed assembly and a activation assembly together.