Case

Patents tagged Case

Mar 31, 2026

US12589933 - Adaptable foam grid system for insertion into protective case

An omni foam grid system for insertion into a protective case has a grid plate sandwiched between a lower perimeter frame, or series of stepped pegs or peg/holster combinations, and an upper perimeter frame. The grid plate has a lattice that forms round or square holes, into which round or square pegs are frictionally inserted. The lower perimeter frame or pegs position the grid plate above the bottom of the case, such that when an object such as a gun or drone is pressed into the invention, the pegs under the invention depress into the negative space, leaving undepressed pegs on all sides of the object to prevent lateral movement during transport in the case. The lid of the case closes upon the object, thereby securing and protecting it with foam on all sides.

Oct 14, 2025

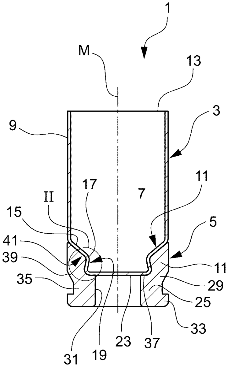
US12442625 - Cartridge case and tool for joining the base piece and case jacket of a multi-part cartridge case

A cartridge case for ammunition may include a rotationally shaped case jacket for receiving a projectile and an annular base piece for receiving a primer and the case jacket. An annular wall of the base piece on the side of the case jacket is conically shaped at least in sections with respect to its axis of rotation. A retaining section of the case jacket on the side of the base piece is adapted in shape thereto so that the retaining section engages at least in sections behind the annular wall for fastening the case jacket and the base piece to one another. A distancing of the base piece and case jacket from each other may be prevented in the direction of the axis of rotation. The conical annular wall and the retaining section may be formed by plastic deformation of the base piece.