Coating

Patents tagged Coating

Apr 14, 2026

US12601081 - Devices, systems, and methods for treatment of tubulars

Disclosed herein are devices, methods, and systems for applying a coating and/or a plating to a surface, including metal surfaces on tubulars or gun barrels. In at least one embodiment, a device includes a rod and an applicator that is rotatable around the rod. The applicator includes a base on which are fixedly attached one or more arms. At one end of the arms is attached one or more applicator pads, which contain the coating and/or plating to be attached to a surface. In a further embodiment, a novel ablative coating includes an electroplated nanostructured porous metal layer combined with embedded nanoparticles. The porous metal layer may include zinc (Zn) and nickel (Ni), and/or alloys thereof. The embedded nanoparticles may include titanium dioxide (TiO 2 ) and hexagonal Boron Nitride (hBN), which are anti-corrosion, friction-reducing, and/or thermally insulating.

Jul 29, 2025

US12372338 - Method of reducing gun barrel heating

A cartridge includes a bullet on which there is formed a coating. At least an upper layer of the coating is porous and comprises a thermoset polymer and a filler. The filler may be a dry film lubricant. The cartridge may be used in a gun of the type that has a rifled barrel. A rifled barrel has a bore diameter and a groove diameter. The bullet may have a metal diameter that is less than the groove diameter but slightly greater than the bore diameter. The coated bullet may have a diameter that is greater than or equal to the groove diameter. When fired, the bullet produces less barrel friction and heating than a conventional bullet. The velocity of the coated bullets is greater and the velocity distribution is more narrow compared to uncoated bullets.

Jul 1, 2025

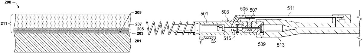
US12345495 - Method of making a reliable gun

A gun has parts that slide past one another during operation. A coating is formed on at least a surface of a first part that contacts a second part. At least an upper layer of the coating is porous and comprises a thermoset polymer and a filler. One or both parts may be part of a gas-operated reloading mechanism. The coating prevents jamming by excluding particles, yielding to particles that still manage to intrude, and by providing a reservoir for lubricant. The coating reduces clearances, improves accuracy, and reduces operating temperatures. The coating excludes particles from the lubricant, effectively allowing a large volume of lubricant to be used without the drawback of trapping dirt and other contaminants in the lubricant.