Conducted Electrical Weapon

Patents tagged Conducted Electrical Weapon

Jan 27, 2026

US12535303 - Detecting fluid ingress in a conducted electrical weapon

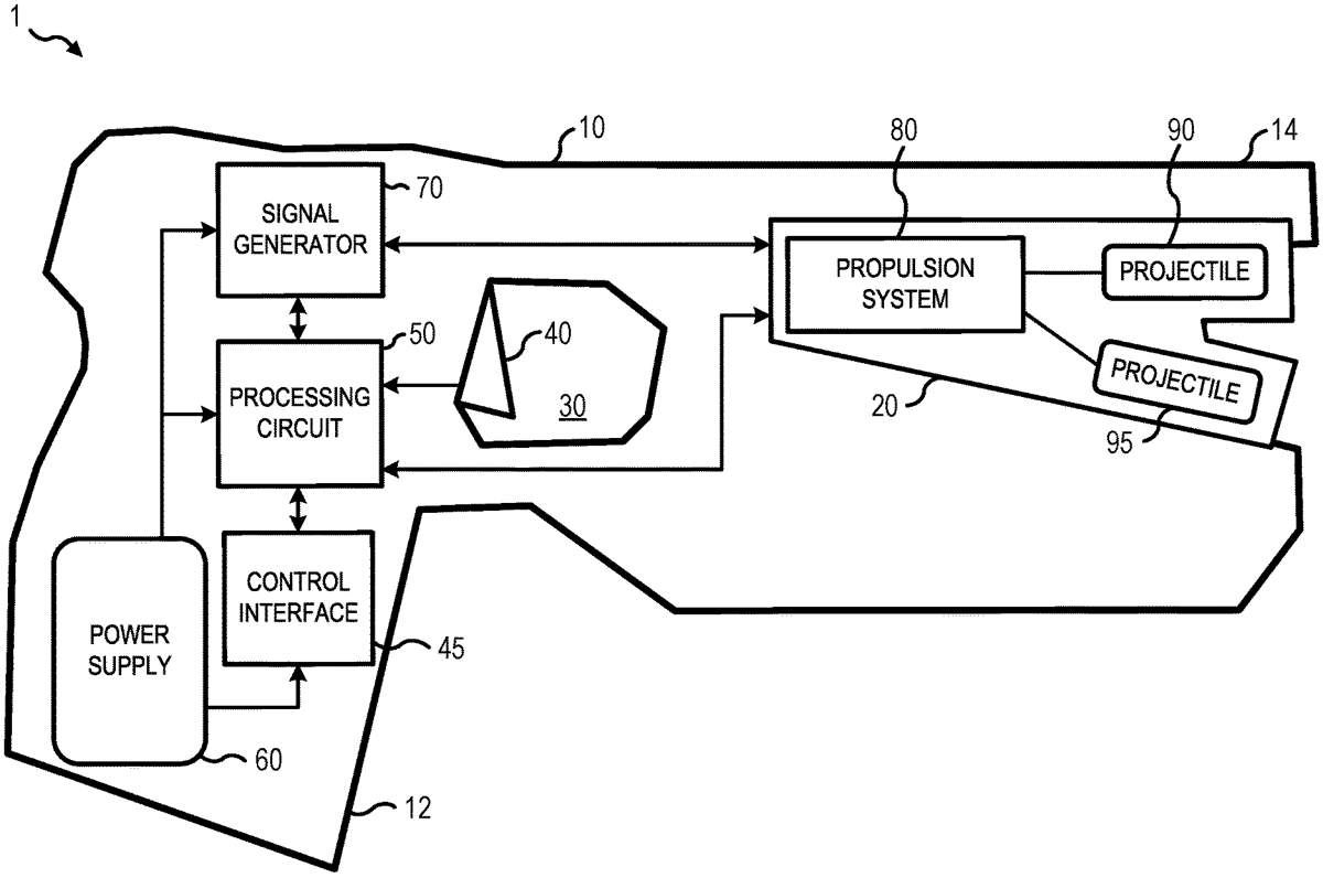
A conducted electrical weapon (“CEW”) may be subject to one or more environmental factors during operation. The environmental factors may impact normal functionality of the CEW. The CEW may detect an electrical property associated with a component of the CEW. The CEW may retrieve a lockout parameter associated with the component. The CEW may compare the electrical property to the lockout parameter. The CEW may determine a lockout condition based on the comparing. The CEW may perform the lockout condition on the CEW.