Driving_band

Patents tagged Driving_band

Sep 23, 2025

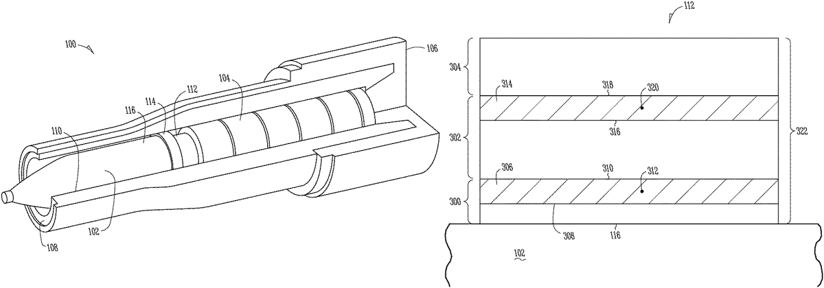
US12422234 - Integrated driving band obturator for artillery

A projectile that includes an artillery shell having a casing that defines a surface is provided. The projectile has an obturator that includes an obturator first material layer on the casing surface and an obturator second material layer on the obturator first material layer. The obturator also has an obturator third material layer on the obturator second material layer. The projectile also has a driving band that includes a driving band first material layer on the casing surface and a driving band second material layer on the driving band first material layer. Additionally, the projectile includes a driving band lead-in having a driving band lead-in first material layer on the casing surface and a driving band lead-in second material layer on the driving band lead-in first material layer.