Dryice

Patents tagged Dryice

May 19, 2026

US12631430 - Method for providing dart game image

Disclosed is a method for providing a dart game image, which is performed by a dart game device for participating in a play session assigning a play time constraint to two or more devices according to some embodiments of the present disclosure. The method for providing a dart game image may include: receiving play related data of another device which participates in the play session in which the dart game device participates; determining a display region in which an object related to the another device is displayed based on the received play related data, wherein the display region is a region at least partially adjacent to an outline of a dart target unit of the dart game device; and displaying the object in the determined display region.

Mar 10, 2026

US12569778 - Flying disc(s) with handle

This invention is a type of flying disc. It has very special features that makes it unique and an innovation. To the flying disc part one can add a handle, thus, making it a flying disc with a handle protruding downwards from the center of the flying disc part. To this flying disc with a handle, one can add many features like: an overhang, a dome, lights, sound devices, solar panels, computer, buttons, light sensors, speakers, TV screen, meteorological instruments, remote control, drone capabilities, flaps, wings, propellers, etc. Also, this flying disc with a handle rotates like a top on various surfaces. Thus, it is a flying disc and a top in one. To the flying disc with a handle, one can add or take off parts, like extensions, handle, and flying disc parts to create bigger or more interesting flying discs, as shown in the drawings.

Feb 17, 2026

US12551818 - Forced air fog chiller

A vapor chiller. The vapor chiller includes a chiller vessel configured to store a cooled substance. The chiller vessel includes a plurality of chambers. Each chamber in the plurality of chambers is configured to concentrate the cooled substance at a bottom of the chamber. The vapor chiller further includes a fan coupled to the chiller vessel. The fan is configured to direct vapor through the chiller vessel across the cooled substance in the bottoms of the chambers.

Feb 3, 2026

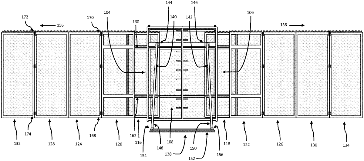
US12540800 - Systems and methods for providing a deployable perimeter security apparatus

Embodiments of the disclosure can provide systems and methods for providing a deployable perimeter security apparatus. The apparatus can include a frame with a box-shape, including a first opposing side and a second opposing side; an anchor device operable to extend from a third side of the frame; a first intermediate panel operable to telescope from the first opposing side of the frame; a second intermediate panel operable to telescope from the second opposing side of the frame; one or more telescoping panels, each operable to telescope from a leading side of at least one intermediate panel; one or more lead folding panels, each operable to mount to a leading side of at least one telescoping panel; and one or more extension folding panels, each operable to mount to either an extended side of at least one lead folding panel or an extended side of another extension folding panel.

Feb 3, 2026

US12540803 - Tactical high power microwave antenna pedestal

An antenna system comprises a reflector subsystem, a rotatable support structure and a support member. The reflector subsystem receives an input beam and reflects the input beam to produce an output beam steered in elevation by an elevation reflector and in azimuth by an azimuth reflector, towards a target. The rotatable support structure is operably coupled to the azimuth reflector and to the elevation reflector and is configured to rotate them simultaneously. The support member comprises a lengthwise portion coupled to the rotatable support structure and an offset portion coupled to the elevation reflector, the offset portion configured to offset the elevation reflector from the lengthwise portion. The offset portion is configured to enable clearance of the elevation reflector during beam steering of the output beam to extreme ends of a range of motion of the elevation reflector.

Feb 3, 2026

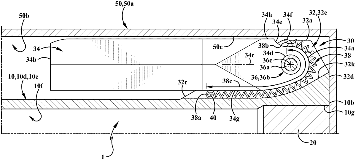
US12540804 - Drag reduction fin deployment mechanism

A projectile having a body that includes a nose, a tail opposite to the nose, a chamber defined between the tail and the nose, and a longitudinal axis defined between the nose and the tail. The projectile also includes a payload stored in the chamber of the body, and a propulsion system equipped with the body. The projectile also includes a fin assembly operably engaged with the body between the nose and the tail and is positioned outside of the chamber, wherein a fin of the fin assembly is moveable between a stowed position and a deployed position. In the stowed position, the fin is stowed completely between the nose and the tail. In the deployed position, a portion of the fin extends away from the nose or from the tail.

Image unavailable
Nov 25, 2025

US12481201 - Flexible infrared selective emitter and manufacturing method thereof

The present invention provides an infrared selective emitter in which since infrared energy can be emitted in a desired wavelength band by adjusting a metamaterial having a repeating structure on a plane, infrared camouflage is possible by attaching to the surface of the shape of an object to be camouflaged, and at the same time, the infrared selective emitter has flexible characteristics that can be applied to curved surfaces without limitations on the shape of an object.