Electrical

Patents tagged Electrical

May 12, 2026

US12624936 - Separating primer cup of a propulsion module for a conducted electrical weapon

A conducted electrical weapon (“CEW”) deploys wire-tethered electrodes after generation of an ignition signal. The ignition signal is provided to a deployment unit. The deployment unit includes a primer material adjacent a conductor. The conductor conducts the ignition signal outside the primer material. A temperature of the conductor increases in response to receiving the ignition signal. The primer material ignites in response to the increase in temperature of the conductor.

Apr 21, 2026

US12607437 - Cartridge with inner surface grooves for a conducted electrical weapon

A cartridge for a conducted electrical weapon may comprise a body having a first end opposite a second end and an outer surface opposite an inner surface. A projectile may be disposed within the body. The inner surface of the body may define a plurality of grooves extending from the first end of the body to a location within the body.

Apr 14, 2026

US12601569 - Systems for projecting high voltage electrical discharges in air

A system for projecting high voltage electrical discharges along laser filaments in air has a high voltage electrical discharge device operable to generate and discharge a high voltage electrical discharge. A laser assembly has at least one laser operable to produce laser electrically conductive laser filaments in air. An electrode is electrically connected to the high voltage electrical discharge device and configured to direct a high voltage electrical discharge at a breakout point of the electrode. The electrode breakout point is disposed in relation to the at least one laser such that when electrically conductive laser filaments are created in air by the at least one laser the high voltage electrical discharge at the breakout point is caused to travel along the electrically conductive laser filaments in air.

Feb 17, 2026

US12553678 - Safety switch for a conducted electrical weapon

A safety switch for a conducted electrical weapon (“CEW”) may be configured to operate between at least one fixed position and at least one momentary position. In response to the safety switch being operated into the at least one momentary position, the safety switch may return to the at least one fixed position. In the fixed position, the safety switch may be configured to perform a firing mode operation. In the momentary position, the safety switch may be configured to perform a non-firing mode operation.

Feb 10, 2026

US12546572 - Distributing deployments in a conducted electrical weapon

A conducted electrical weapon (“CEW”) may distribute deployments from the CEW across a same activation event and across different activation events. The system may distribute deployments based on a deployment list. The deployment list may define a sequential deployment order for a deployment connections of the CEW. The system may determine a next deployment connection and activate the next deployment connection based on the deployment list. The system may update the deployment list responsive to activations of deployment connections such that the deployment list is sequentially maintained between activation events.

Feb 3, 2026

US12540788 - Simulation deployment unit for a conducted electrical weapon

A conducted electrical weapon (“CEW”) may comprise a handle and a deployment unit. A CEW may be adapted for use in a simulation system comprising a simulator and a display. A simulation deployment unit may be used with a handle to adapt the CEW for use in the simulation system. The simulation deployment unit may be configured to detect motion data corresponding with at least one of a change in position, a change in orientation, and an initial orientation of the CEW. The simulation deployment unit may be configured to pass the motion data to the handle so the motion data may be transmitted to a simulator via a communication circuit of the handle. The simulation deployment unit may require power from the handle to operate, and the handle may require motion data provided by the simulation deployment unit so that the CEW may be used in the simulation system.

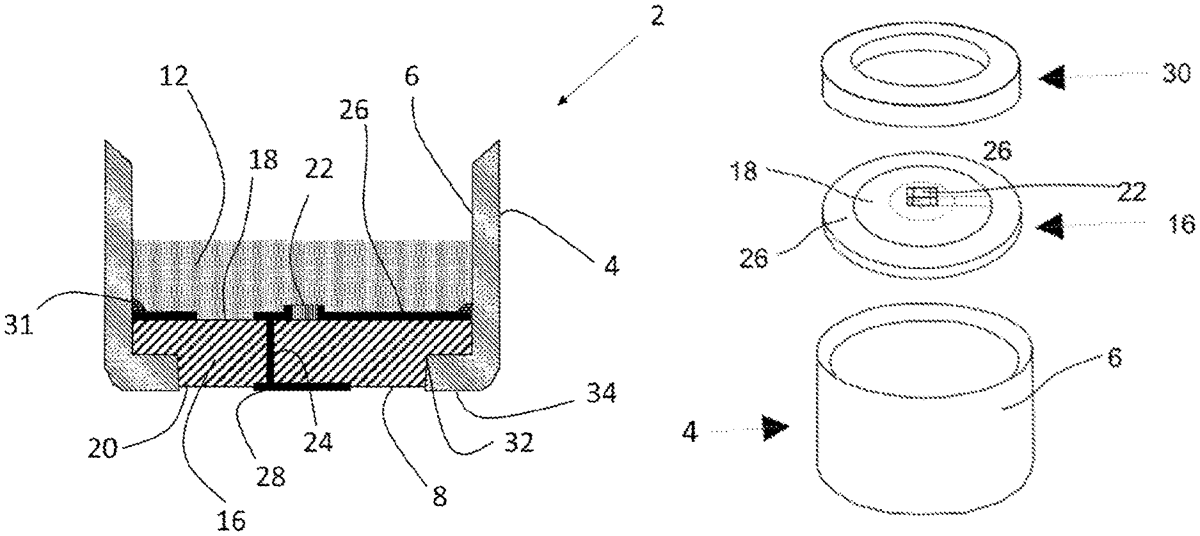
Aug 19, 2025

US12392592 - Electrical priming of a firearm primer

The present disclosure relates to a primer for a personal firearm. The primer includes a primer cup including a cylindrical side wall closed at one outer end by a bottom; a pyrotechnic charge placed in the primer cup; an electrical component suitable for producing the thermal energy needed for priming the pyrotechnic charge, the charge being in contact with the electrical component; a printed circuit board, said printed circuit board having an internal face comprising the electrical component in contact with the pyrotechnic charge, characterized in that said printed circuit board forms at least in part the outer bottom of the primer cup.