Electromechanical

Patents tagged Electromechanical

Mar 24, 2026

US12584705 - Electromechanical gun

The present disclosure provides systems, devices, and techniques that can be implemented at a gun, such as an electromechanical gun. The gun may include a barrel located within a slide and a cylindrical spring enveloping the barrel. The barrel may be configured to act as a guide rod for the cylindrical spring, and the cylindrical spring may be configured to bias the slide in a forward battery position. The gun may include an electronic component such as an energy store, a processor, or a circuit board, located under the barrel and forward of the trigger when the gun is in an upright position. The gun may include a physical transmission medium that electronically couples the electronic component with an additional electronic component located rearward of the trigger, and the physical transmission medium may be at least partially encapsulated by a trigger guard.

Mar 3, 2026

US12566038 - Electromechanical sear and methods of operating a gun using the same

The present disclosure provides systems and techniques for an electromechanical sear that is implementable in a gun. The gun may include a fire control manager, and the fire control manager may identify a trigger break based on a trigger sensor, transmit, based on the trigger break, a first signal to a first actuator located in a displacement path of a sear, so as to cause the first actuator to be displaced in a first direction, and transmit, based on the trigger break, a second signal to a second actuator located in the displacement path of the sear, so as to cause the second actuator to be displaced in a second direction. The transmitting the first signal to the first actuator and the transmitting the second signal to the second actuator may cause displacement of the sear and firing of the gun.

Sep 23, 2025

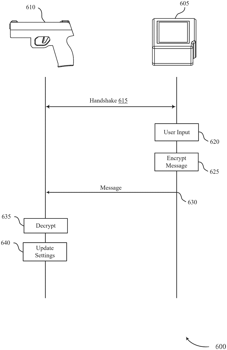
US12424038 - Docking station for an electromechanical gun

The present disclosure provides system and techniques that allow a device to be coupled with an electromechanical gun. The electromechanical gun may be physically coupled with a cradle of the device, and the electromechanical gun may be communicatively coupled with an electrical interface of the device. The device may include a display mechanism that is capable of visually conveying information, a power source configured to supply power to the display mechanism, an electrical interface configured to be coupled with an electromechanical gun so as to allow power to be directed from the power source to the electromechanical gun, and a processor configured to process incoming messages received from the electromechanical gun and transmit outgoing messages to the electromechanical gun. The processor may perform a handshake procedure with the electromechanical gun, and the processor may process the incoming messages or transmit the outgoing messages based on the handshake procedure.

Sep 16, 2025

US12416462 - Electromechanical trigger and methods of operating a gun using the same

The present disclosure provides systems and techniques for an electromechanical trigger that is implementable in a gun. The gun may include a trigger mechanism, a trigger sensing mechanism, and a fire control manager. The fire control manager may identify a trigger break based on the trigger sensing mechanism generating a voltage, and the fire control manager may transmit a signal to an actuator mechanism based on the trigger break. A detent mechanism may be dislocated in response to a force applied to a trigger mechanism, and the trigger sensing mechanism may generate the voltage based on the dislocating of the detent mechanism. Dislocating the detent mechanism may correspond to satisfying a trigger break threshold. The actuator mechanism may be displaced in response to the signal, and displacing the actuator mechanism may result in a projectile being propelled from the gun.

Jun 17, 2025

US12332005 - User authentication at an electromechanical gun

The present disclosure provides systems and techniques for authenticating a user at gun. The gun may include an authentication manager capable of implementing logic, processing signals, or executing instructions. The authentication manager may receive first query data from a first authentication sensor of the gun, receive second query data from a second authentication sensor of the gun, perform an authentication procedure to determine whether the first query data or the second query data matches enrollment data, where a match is determined based on the first query data or the second query data and the enrollment data satisfying a similarity threshold. The authentication manager may determine that the user is authorized to operate the gun and transmit a signal in response to the determining that the user is authorized to operate the gun. The signal may cause the gun to enter an active state which allows the gun to be fired.