Equipment

Patents tagged Equipment

Feb 10, 2026

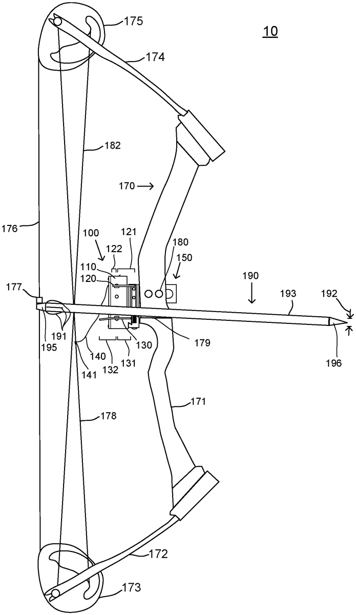
US12546556 - Arrow rest

An arrow rest is moveable between an encapturing configuration and a discharge configuration. The arrow rest comprises a body, a first arm, and a second arm. The first arm is movably mounted with respect to the body. The second arm is also movably mounted with respect to the body. Responsive to movement from the encapturing configuration to the discharge configuration a first portion of the first arm and a first portion of the second arm operate to move away from each other, while a second portion of the first arm and a second portion of the second arm operate to move toward each other.